授权公布号:CN208196980U
一种净水器的塑料压力桶打孔装置
有效
申请
2018-05-15
申请公布
1970-01-01
授权
2018-12-07
预估到期
2028-05-15
| 申请号 | CN201820717844.1 |
| 申请日 | 2018-05-15 |
| 授权公布号 | CN208196980U |
| 授权公告日 | 2018-12-07 |
| 分类号 | B26F1/16;B26D7/02 |
| 分类 | 手动切割工具;切割;切断; |
| 申请人名称 | 浙江铭泉水暖设备有限公司 |
| 申请人地址 | 浙江省嘉兴市桐乡市凤鸣街道同胜路317号1-2幢 |
专利法律状态
2018-12-07
授权
状态信息
授权
摘要
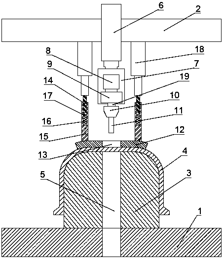
本实用新型涉及净水器压力桶生产技术领域,尤其是一种净水器的塑料压力桶打孔装置,包括上机架和下机架,在下机架上设置有内膜衬,塑料压力桶倒扣在内膜衬上,在内膜衬设置有竖直向下的下料孔,在上机架上设置有竖直向下的双向油缸,在双向油缸的伸缩杆上设置有安装板,安装板上设置有电动机和齿轮箱,齿轮箱上设置有竖直向下的输出转轴,输出转轴上设置安装座,安装座上装配钻头;在上机架上设置有至少两个竖直向下的气缸,在气缸的伸缩端上设置有压板。本实用新型所得到的一种净水器的塑料压力桶打孔装置,能自动对塑料压力桶进行固定,且固定位置位于打孔位置的周围,确保打孔处固定牢固,提升打孔精度和安全性。


