授权公布号:CN218148670U
一种带有稳定支撑结构的无负压供水设备用底座
有效
申请
2022-08-08
申请公布
1970-01-01
授权
2022-12-27
预估到期
2032-08-08
| 申请号 | CN202222072441.5 |
| 申请日 | 2022-08-08 |
| 授权公布号 | CN218148670U |
| 授权公告日 | 2022-12-27 |
| 分类号 | E03B7/09 |
| 分类 | 给水;排水; |
| 申请人名称 | 上海塔克泵阀制造(集团)有限公司 |
| 申请人地址 | 上海市金山区朱泾镇仙居路218号1幢144室 |
专利法律状态
2022-12-27
授权
状态信息
授权
摘要
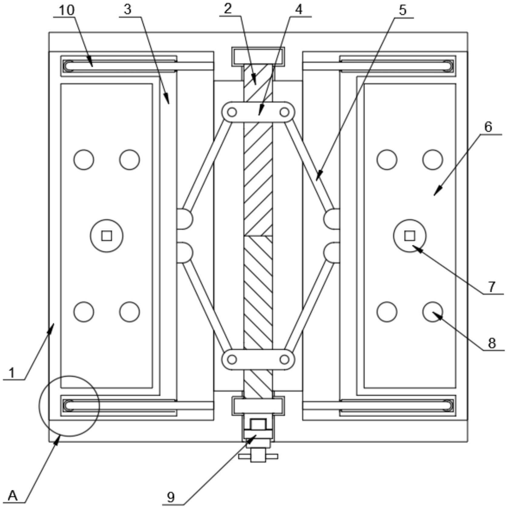
一种带有稳定支撑结构的无负压供水设备用底座,包括底板,底板中部转动安装有双向螺杆,底板不相邻处两侧凹槽内均滑动安装有载盒,双向螺杆两端均套设有套环,本实用新型具有以下优点:通过转动双向螺杆控制两个载盒移出,并转动螺纹筒驱动压板移出载盒,并与使压板地面贴合,达到增大底板与地面接触面积的作用,提高了底座的稳定性,并且由于压板可进行收纳,使得底座便于运输,大大提高了无负压供水设备底座的实用性。


