授权公布号:CN214184222U
一种使用便捷的铜带酸洗清洁装置
有效
申请
2020-12-11
申请公布
1970-01-01
授权
2021-09-14
预估到期
2030-12-11
| 申请号 | CN202022943295.X |
| 申请日 | 2020-12-11 |
| 授权公布号 | CN214184222U |
| 授权公告日 | 2021-09-14 |
| 分类号 | B08B1/04;B08B3/08 |
| 分类 | 清洁; |
| 申请人名称 | 安徽楚江科技新材料股份有限公司 |
| 申请人地址 | 安徽省芜湖市九华北路8号 |
专利法律状态
2021-09-14
授权
状态信息
授权
摘要
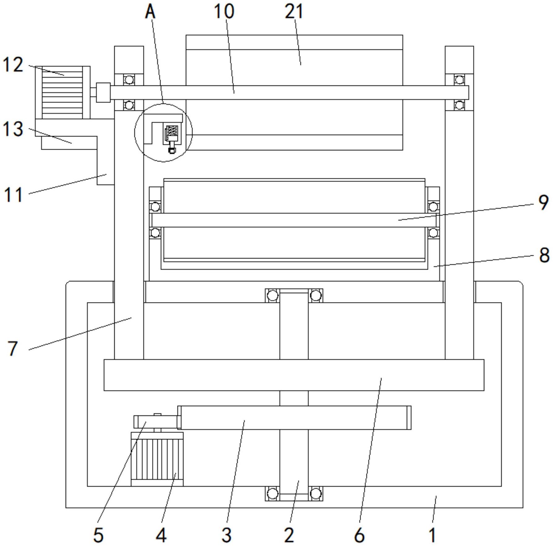
本实用新型涉及铜带生产技术领域,且公开了一种使用便捷的铜带酸洗清洁装置,包括安装箱,所述安装箱的内腔上下壁均与丝杆转动连接,所述丝杆的外部固定连接有第一齿轮,所述安装箱的内腔底部固定连接有第一伺服电机,所述第一伺服电机的输出端固定连接有与第一齿轮相适配的第二齿轮,所述丝杆的外部传动连接有传动板。该使用便捷的铜带酸洗清洁装置,具备便于调节和提高效率等优点,解决了在对铜带进行酸洗时采用电动刷辊对铜带进行清理打磨,在打磨前需要调节刷辊与铜带之间的距离来保证清洗效果,现有技术中,在更换不同厚度的铜带时,由工作人员手动调节刷辊与铜带之间的距离,操作繁琐,效率较低的问题。


