授权公布号:CN218460643U
一种容器用缩口模具
有效
申请
2022-09-21
申请公布
1970-01-01
授权
2023-02-10
预估到期
2032-09-21
| 申请号 | CN202222503829.6 |
| 申请日 | 2022-09-21 |
| 授权公布号 | CN218460643U |
| 授权公告日 | 2023-02-10 |
| 分类号 | B21D37/10;B21D41/04;B21D51/18 |
| 分类 | 基本上无切削的金属机械加工;金属冲压; |
| 申请人名称 | 浙江飞剑工贸有限公司 |
| 申请人地址 | 浙江省金华市永康市经济开发区华夏路387号 |
专利法律状态
2023-02-10
授权
状态信息
授权
摘要
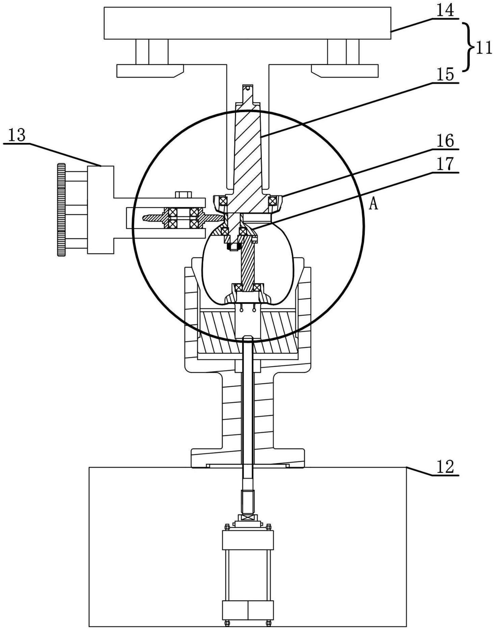
本实用新型公开了一种容器用缩口模具,包括上模组件、下模组件、缩口滚轮组件,上模组件包括上模座组件、上模芯组件、端面内撑组件、口部内撑组件,上模芯组件的上部与上模座组件相连接,端面内撑组件、口部内撑组件分别与上模芯组件的下部转动连接,口部内撑组件位于端面内撑组件的下方,且口部内撑组件呈偏心设置,端面内撑组件压抵住容器口部端面的内壁,口部内撑组件压抵住容器口部的内壁。上模组件、下模组件、缩口滚轮组件相互配合用于对容器的口部进行缩口作业,其中端面内撑组件压抵住容器口部端面的内壁,且口部内撑组件压抵住容器口部的内壁,从而在缩口作业时为容器的内侧提供足够的支撑力,更好地满足容器口部的缩口要求。


