授权公布号:CN213350616U
一种钢钉生产工艺段的钢筋快速传输装置
有效
申请
2020-10-13
申请公布
1970-01-01
授权
2021-06-04
预估到期
2030-10-13
| 申请号 | CN202022266329.6 |
| 申请日 | 2020-10-13 |
| 授权公布号 | CN213350616U |
| 授权公告日 | 2021-06-04 |
| 分类号 | B21F11/00;B21F23/00;B21G3/32 |
| 分类 | 基本上无切削的金属机械加工;金属冲压; |
| 申请人名称 | 河北隆尧青龙剑钉业有限公司 |
| 申请人地址 | 河北省邢台市隆尧经济开发区北区(汦水街以东,创业路以北) |
专利法律状态
2021-06-04
授权
状态信息
授权
摘要
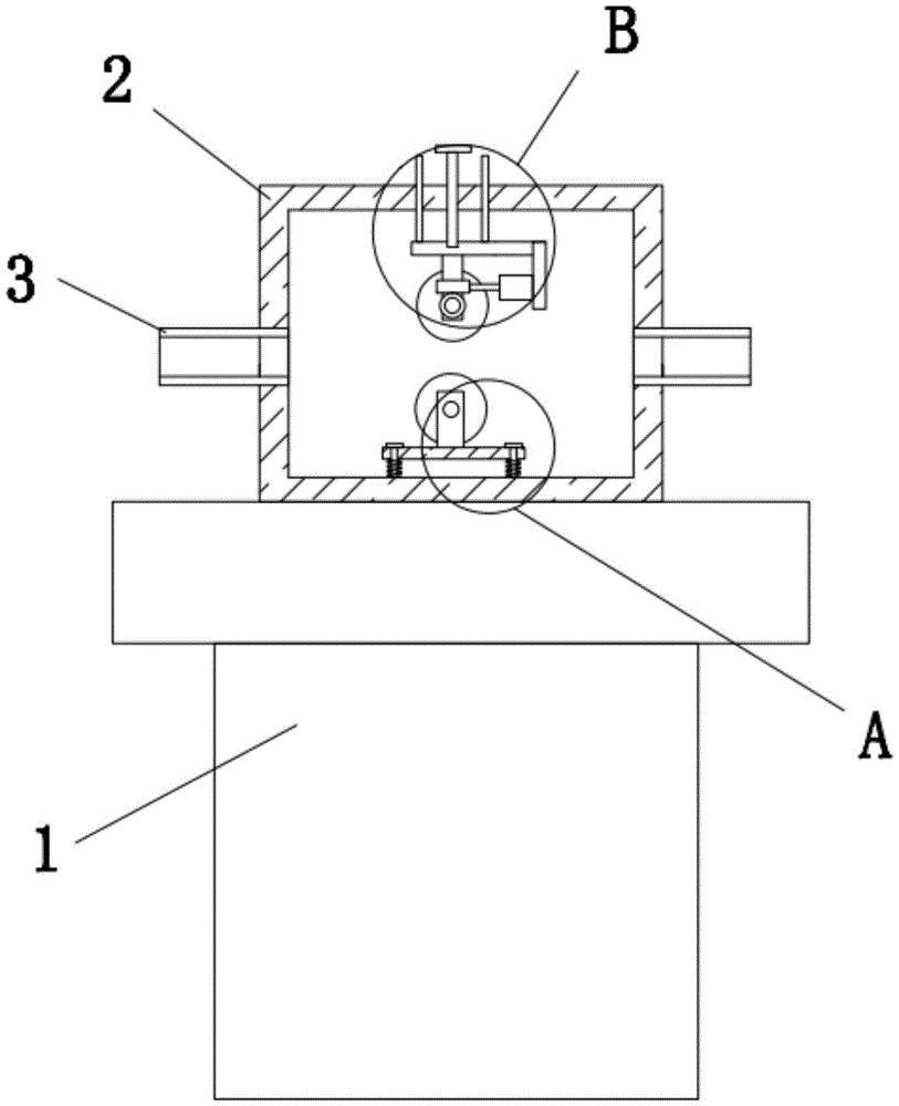
本实用新型属于传输设备领域,尤其是一种钢钉生产工艺段的钢筋快速传输装置,包括箱体和位于箱体上方的传输箱,所述传输箱的两侧均固定安装有导向套筒,传输箱的底部内壁上固定安装有多个T形限位杆,多个T形限位杆上滑动套设有同一个滑动板,滑动板的底端固定安装有多个压缩弹簧的一端,压缩弹簧的另一端固定安装在传输箱的底部内壁上,滑动板的顶部固定安装有U形座,U形座上转动安装有第一导向轮,传输箱的顶部内壁上开设有多个限位孔,限位孔内滑动安装有限位杆。本实用新型设计合理,结构简单,操作方便,便于对第一导向轮和第二导向轮之间的间距进行调节,从而便于对不同直径的钢筋进行传输。


