授权公布号:CN213729382U
一种干壁钉加工用加热装置
有效
申请
2020-10-13
申请公布
1970-01-01
授权
2021-07-20
预估到期
2030-10-13
| 申请号 | CN202022267234.6 |
| 申请日 | 2020-10-13 |
| 授权公布号 | CN213729382U |
| 授权公告日 | 2021-07-20 |
| 分类号 | B23B25/00;B23Q3/06;B23P25/00 |
| 分类 | 机床;不包含在其他类目中的金属加工; |
| 申请人名称 | 河北隆尧青龙剑钉业有限公司 |
| 申请人地址 | 河北省邢台市隆尧经济开发区北区(汦水街以东,创业路以北) |
专利法律状态
2021-07-20
授权
状态信息
授权
摘要
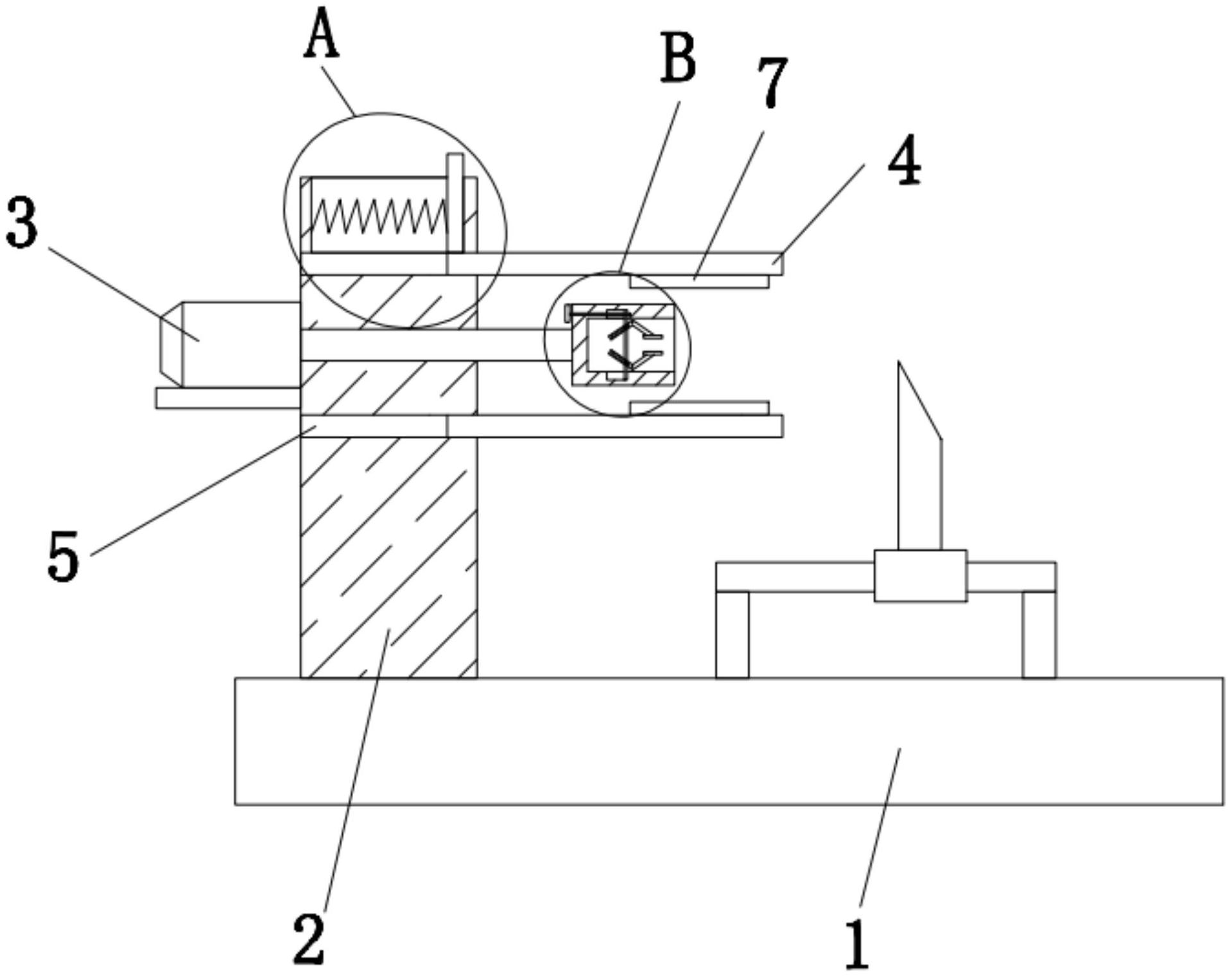
本实用新型属于加热设备领域,尤其是一种干壁钉加工用加热装置,包括底座,所述底座的顶部固定安装有连接座,连接座的一侧固定安装有电机,电机的输出轴贯穿连接座并固定安装有套筒,连接座的一侧开设有环形槽,环形槽内滑动安装有固定套,固定套的内壁上固定安装有加热器,环形槽的顶端内壁上开设有移动孔,固定套的顶端固定安装有推杆,推杆的一端固定安装有固定弹簧的一端,固定弹簧的另一端固定安装在移动孔的内壁上,固定套的两侧内壁上转动安装有两个对称设置的旋转杆,旋转杆固定套设在L形杆上。本实用新型设计合理,通过加热器能够对干壁钉进行加强,且便于对干壁钉进行夹持固定。


