授权公布号:CN208654346U
一种用于安检机探测板测试的快速拆装工装
有效
申请
2018-08-24
申请公布
1970-01-01
授权
2019-03-26
预估到期
2028-08-24
| 申请号 | CN201821375767.2 |
| 申请日 | 2018-08-24 |
| 授权公布号 | CN208654346U |
| 授权公告日 | 2019-03-26 |
| 分类号 | G01V9/00 |
| 分类 | 测量;测试; |
| 申请人名称 | 上海英迈吉东影图像设备有限公司 |
| 申请人地址 | 上海市浦东新区置业路111号 |
专利法律状态
2019-03-26
授权
状态信息
授权
摘要
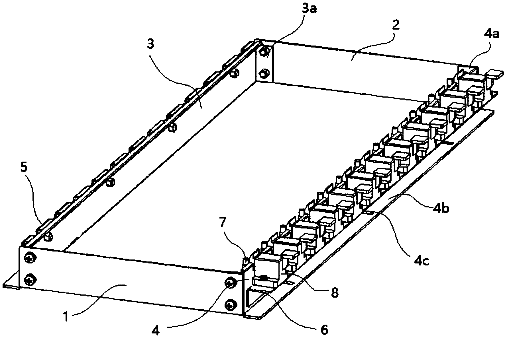
本实用新型公开了一种用于安检机探测板测试的快速拆装工装,包括:第一围板与第二围板,第一围板上设有用于压住探测板的压板,第二围板上设有用于卡住探测板的压扣;沿着第一围板的延伸方向,第一围板的两端分别设有朝向第二围板延伸的第一水平调节板,第一水平调节板上设有第一围板水平调节孔;沿着第二围板的延伸方向,第二围板的两端分别设有朝向第一围板延伸的第二水平调节板,第二水平调节板上设有第二围板水平调节孔;第一围板与第二围板通过水平调节组件连接。本结构用于作为支架用于安装探测板,简化探测板拆装过程,省去探测板拆装过程中拆装螺栓的步骤,降低探测板的测试工作量,节约操作人员大量的时间,提高探测板的测试效率。


