授权公布号:CN220571030U
茎叶分离机
有效
申请
2023-08-14
申请公布
1970-01-01
授权
2024-03-12
预估到期
2033-08-14
| 申请号 | CN202322175685.0 |
| 申请日 | 2023-08-14 |
| 授权公布号 | CN220571030U |
| 授权公告日 | 2024-03-12 |
| 分类号 | A01D45/00;A01D57/20 |
| 分类 | 农业;林业;畜牧业;狩猎;诱捕;捕鱼; |
| 申请人名称 | 晋亿实业股份有限公司 |
| 申请人地址 | 中国台湾台北市松山区八德路4段135号6楼之1 |
专利法律状态
2024-03-12
授权
状态信息
授权
摘要
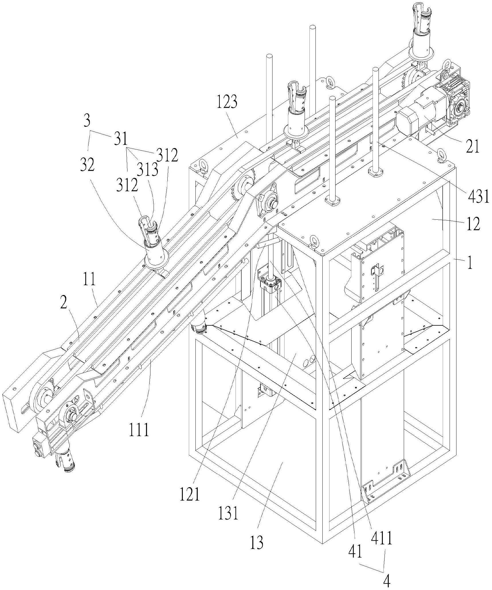
本实用新型是关于一种茎叶分离机,包含:一机台、一输送单元、一夹持单元及一刀具单元;该机台形成有倾斜区、工作区及收集区,输送单元通过该倾斜区及该工作区;该夹持单元包含有一夹件及一套筒,该夹件设有一夹持部,该套筒穿套于该夹件的外部,并相对于该夹件移动,该夹件随着该输送单元通过该倾斜区,该夹持部会收缩夹紧或扩张松开;该刀具单元包含有两个动力源、两个导轨组、两个刀架及两个切刀座,两个动力源带动两个刀架于该工作区内限位上下移动,两个切刀座受到两个导轨组的作用,使两个切刀座于两个刀架上相向的相对移动,以分离茎叶,借上述结构可以实现茎叶分离的自动化以及大批量作业。


