授权公布号:CN204417455U
一种化妆品用小麦胚芽油的软化罐
有效
申请
2015-01-21
申请公布
1970-01-01
授权
2015-06-24
预估到期
2025-01-21
| 申请号 | CN201520041895.3 |
| 申请日 | 2015-01-21 |
| 授权公布号 | CN204417455U |
| 授权公告日 | 2015-06-24 |
| 分类号 | C11B1/04;C11B3/00 |
| 分类 | 动物或植物油、脂、脂肪物质或蜡;由此制取的脂肪酸;洗涤剂;蜡烛; |
| 申请人名称 | 河北家丰植物油有限公司 |
| 申请人地址 | 河北省邯郸市大名县京府工业城 |
专利法律状态
2015-06-24
授权
状态信息
授权
摘要
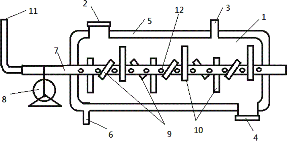
本实用新型公开了一种化妆品用小麦胚芽油的软化罐,包括罐体(1),罐体(1)为卧式布置;罐体(1)上部设置有进料口(2)、排气管(3),下部设置有出料口(4);罐体(1)外壁设置有蒸汽夹层(5),蒸汽夹层(5)具有夹层进汽管(6),蒸汽夹层(5)内壁有开孔;罐体(1)内沿中心轴设置有转动轴(7),转动轴(7)的一端与电动机(8)相连;转动轴(7)上设置有若干推料片(9)、搅拌叶片(10),二者等距离间隔布置;转动轴(7)为中空轴,与进汽管(11)相连,其内通有蒸汽,其表面均匀设置蒸汽喷孔(12)。该软化罐,有效弥补了油料由搅拌叶片运动造成的水分损失,软化效果好。


