授权公布号:CN212215175U
一种双轴搅拌机
有效
申请
2020-04-25
申请公布
1970-01-01
授权
2020-12-25
预估到期
2030-04-25
| 申请号 | CN202020647471.2 |
| 申请日 | 2020-04-25 |
| 授权公布号 | CN212215175U |
| 授权公告日 | 2020-12-25 |
| 分类号 | B01F7/02 |
| 分类 | 一般的物理或化学的方法或装置; |
| 申请人名称 | 西安福瑞德食品饮料有限公司 |
| 申请人地址 | 陕西省西安市经济技术开发区雅荷花园中环大厦B座15层 |
专利法律状态
2020-12-25
授权
状态信息
授权
摘要
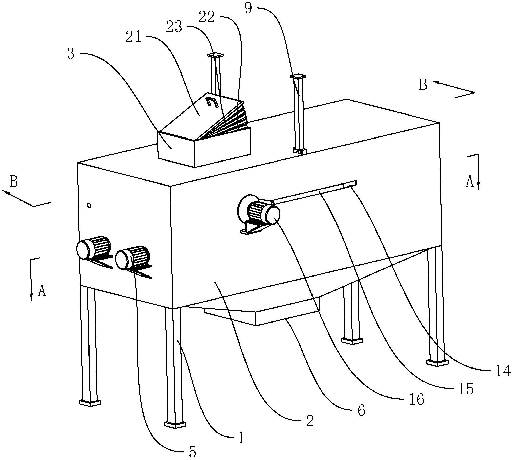
本实用新型公开了一种双轴搅拌机,涉及食品加工设备技术领域。其技术要点是:包括机架,所述机架上设置有搅拌箱体,所述搅拌箱体的顶面设置有进料口,所述搅拌箱体内沿水平方向设置有两根搅拌轴,所述搅拌箱体的侧壁设置有两个第一电机,两个所述第一电机的壳体与搅拌箱体侧壁固定连接,所述搅拌箱体的下端设置有出料口,所述搅拌箱体内沿水平方向设置有推板,所述推板位于与搅拌轴平行的搅拌箱体的两侧面,所述推板与搅拌箱体内侧壁贴合,所述推板上沿竖直方向设置有推杆,所述搅拌箱体的顶壁设置有驱动推板升降的升降组件。本实用新型具有出产率高的优点。


