授权公布号:CN212220606U
一种固态粉料下料装置
有效
申请
2020-04-25
申请公布
1970-01-01
授权
2020-12-25
预估到期
2030-04-25
| 申请号 | CN202020646880.0 |
| 申请日 | 2020-04-25 |
| 授权公布号 | CN212220606U |
| 授权公告日 | 2020-12-25 |
| 分类号 | B65B1/00;B65B1/06 |
| 分类 | 输送;包装;贮存;搬运薄的或细丝状材料; |
| 申请人名称 | 西安福瑞德食品饮料有限公司 |
| 申请人地址 | 陕西省西安市经济技术开发区雅荷花园中环大厦B座15层 |
专利法律状态
2020-12-25
授权
状态信息
授权
摘要
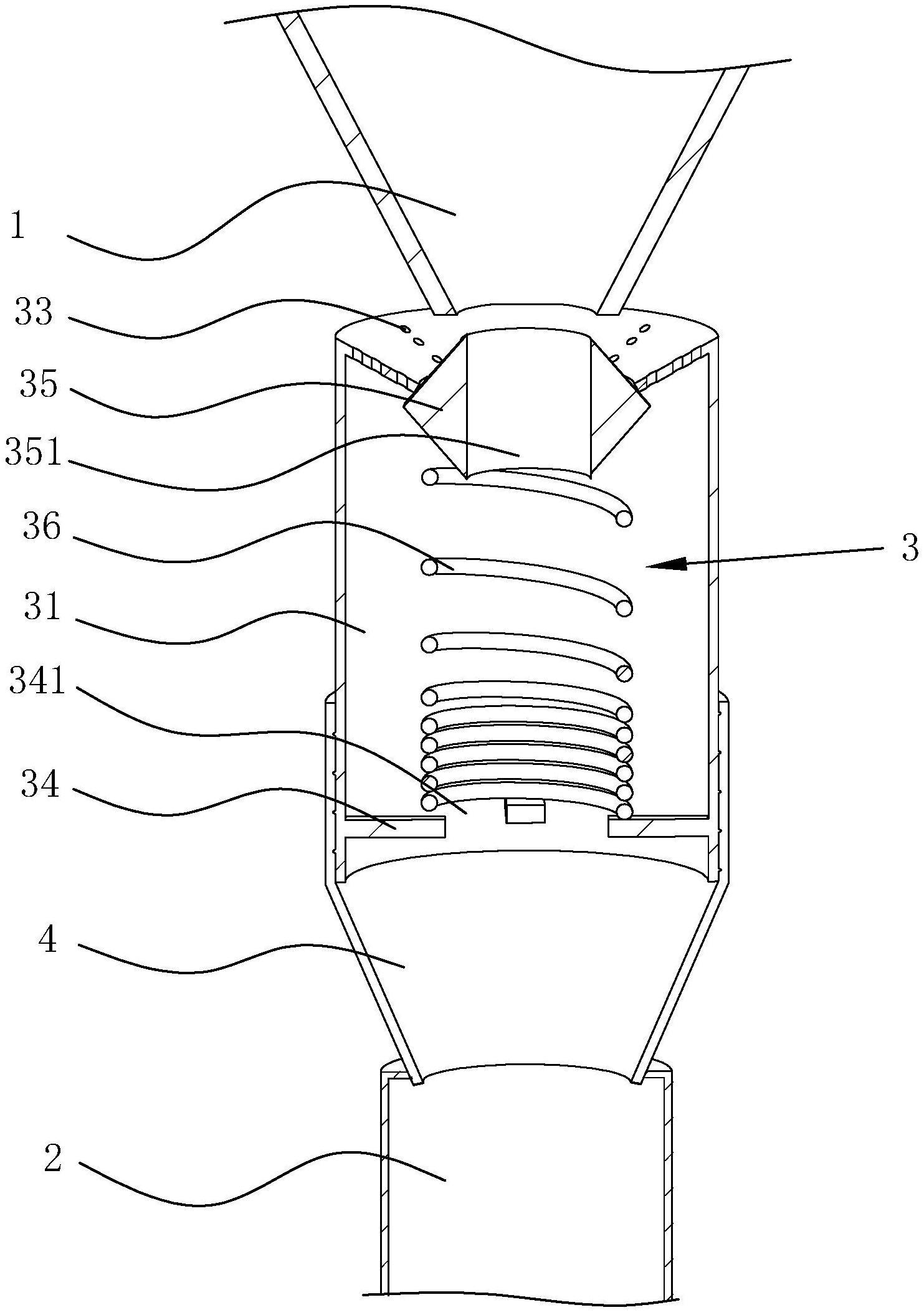
本实用新型公开了一种固态粉料下料装置,涉及固态饮料包装的技术领域,其包括粉料罐,设于粉料罐下方的出料斗,粉料罐与出料斗之间设有限流装置,限流装置包括落料筒,设于落料筒内的限流块、设于落料筒靠近粉料罐一端的限位孔和设于限流块远离粉料罐一端的限位弹簧,落料筒远离粉料罐一端开口设置,限位弹簧一端抵在限流块上,另一端抵在落料筒远离粉料罐的端部,限流块上设有限流孔,限流孔从靠近粉料罐一端到远离粉料罐一端贯通设置,限流块边缘与落料筒的内壁之间设有粉末通道,落料筒的直径大于粉料罐的出口的直径,限位弹簧在自然状态下使限流块抵在限位孔上。本实用新型具有控制下料精度,减少落料的不均匀程度的有益效果的效果。


