授权公布号:CN203380241U
一种卷边机的自动提升装置
失效
申请
2013-07-16
申请公布
1970-01-01
授权
2014-01-08
预估到期
2023-07-16
| 申请号 | CN201320419889.8 |
| 申请日 | 2013-07-16 |
| 授权公布号 | CN203380241U |
| 授权公告日 | 2014-01-08 |
| 分类号 | B21D19/12;B21D43/12 |
| 分类 | 基本上无切削的金属机械加工;金属冲压; |
| 申请人名称 | 沈阳金飞马制漆有限公司 |
| 申请人地址 | 辽宁省沈阳市大东区榆林大街2号 |
专利法律状态
2023-08-01
专利权的终止
状态信息
专利权有效期届满;IPC(主分类):B21D 19/12;专利号:ZL2013204198898;申请日:20130716;授权公告日:20140108;终止日期:
2014-01-08
授权
状态信息
授权
摘要
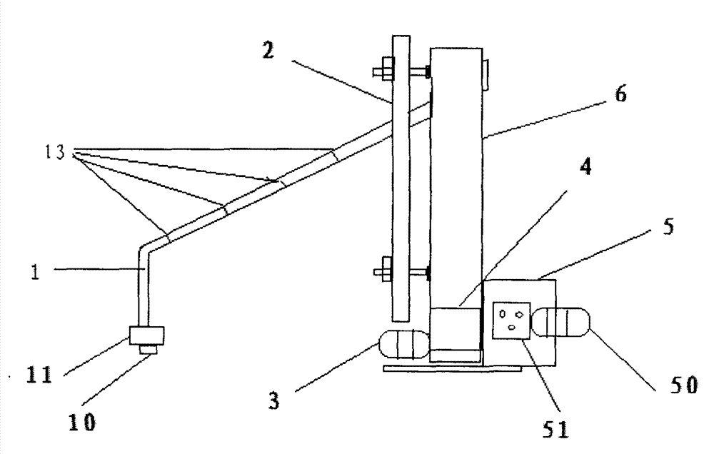
本实用新型提供一种卷边机的自动提升装置,其包括链式传送带、带动机构、机架、减速机、电机和配电柜,其特征在于:所述机架与带动机构通过固定套连接,所述链式传送带顶端与所述机架螺纹连接;所述减速机通过螺钉固定于所述机架的底部并与所述机架的左侧的电机转轴联动;所述配电柜通过螺钉固定于所述机架右侧并与所述电机及所述减速机电连接。本实用新型操作简便、使用灵活、成本低、效率高、安全性能好。


