授权公布号:CN214919406U
设有折弯保护装置的数控折弯设备
有效
申请
2021-04-30
申请公布
1970-01-01
授权
2021-11-30
预估到期
2031-04-30
| 申请号 | CN202120925378.8 |
| 申请日 | 2021-04-30 |
| 授权公布号 | CN214919406U |
| 授权公告日 | 2021-11-30 |
| 分类号 | B21D5/01;B21D37/16;B21D43/00 |
| 分类 | 基本上无切削的金属机械加工;金属冲压; |
| 申请人名称 | 天津华林同创建材有限公司 |
| 申请人地址 | 天津市北辰区大张庄镇九园公路南 |
专利法律状态
2021-11-30
授权
状态信息
授权
摘要
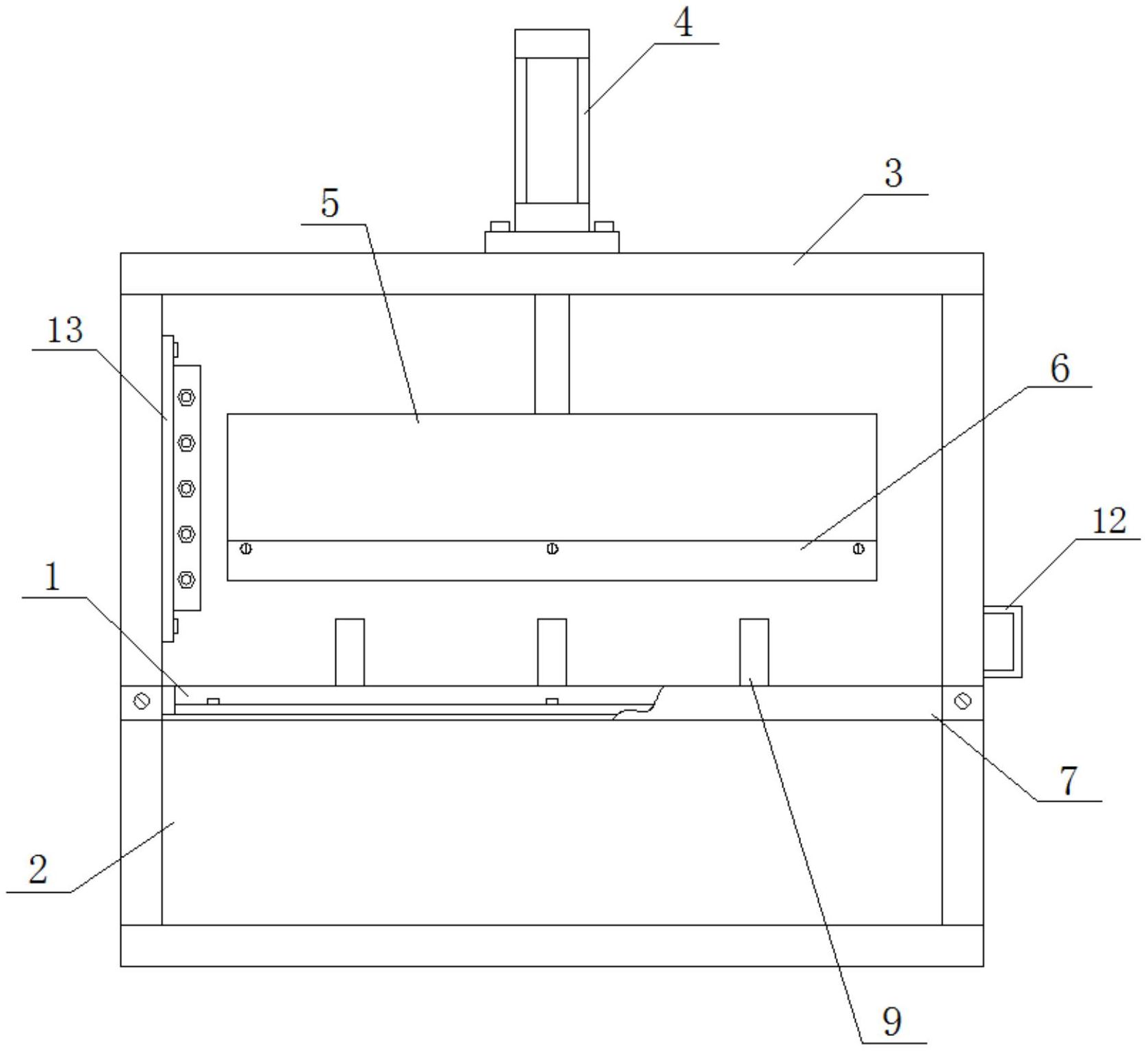
本实用新型公开设有折弯保护装置的数控折弯设备,承压模具的前后侧为安装条,承压模具通过螺钉a固定在支撑台的上方,支撑台的外侧焊接有外罩,外罩包括左侧板、右侧板、底板、后侧板和顶板,顶板的上方前侧通过螺钉b安装有第一液压缸,第一液压缸的下方为升降轴,升降轴的下方螺接有下压板,下压板的后上方焊接有螺接套a,下压板的下方通过沉头螺丝安装有可拆卸压头,可拆卸压头的上方内侧设有与下压板相匹配的卡槽,外罩的前侧通过螺钉c安装有安全限位板。通过安全限位板和防潮件的设置,可以拉远工人与折弯设备的距离,在保护工人的同时,防潮件还能对金属材质的折弯设备组件起防潮防护作用,并且通过可拆卸压头的设置,可以减少更换成本。


