授权公布号:CN220556171U
一种锅炉的自清洁控制结构
有效
申请
2023-06-29
申请公布
1970-01-01
授权
2024-03-05
预估到期
2033-06-29
| 申请号 | CN202321677642.6 |
| 申请日 | 2023-06-29 |
| 授权公布号 | CN220556171U |
| 授权公告日 | 2024-03-05 |
| 分类号 | F22B37/56;D06F73/00;D06F79/00;F22B37/52;F22B37/54 |
| 分类 | 蒸汽的发生; |
| 申请人名称 | 卓力电器集团有限公司 |
| 申请人地址 | 浙江省宁波市慈溪市周巷镇开发路48号 |
专利法律状态
2024-03-05
授权
状态信息
授权
摘要
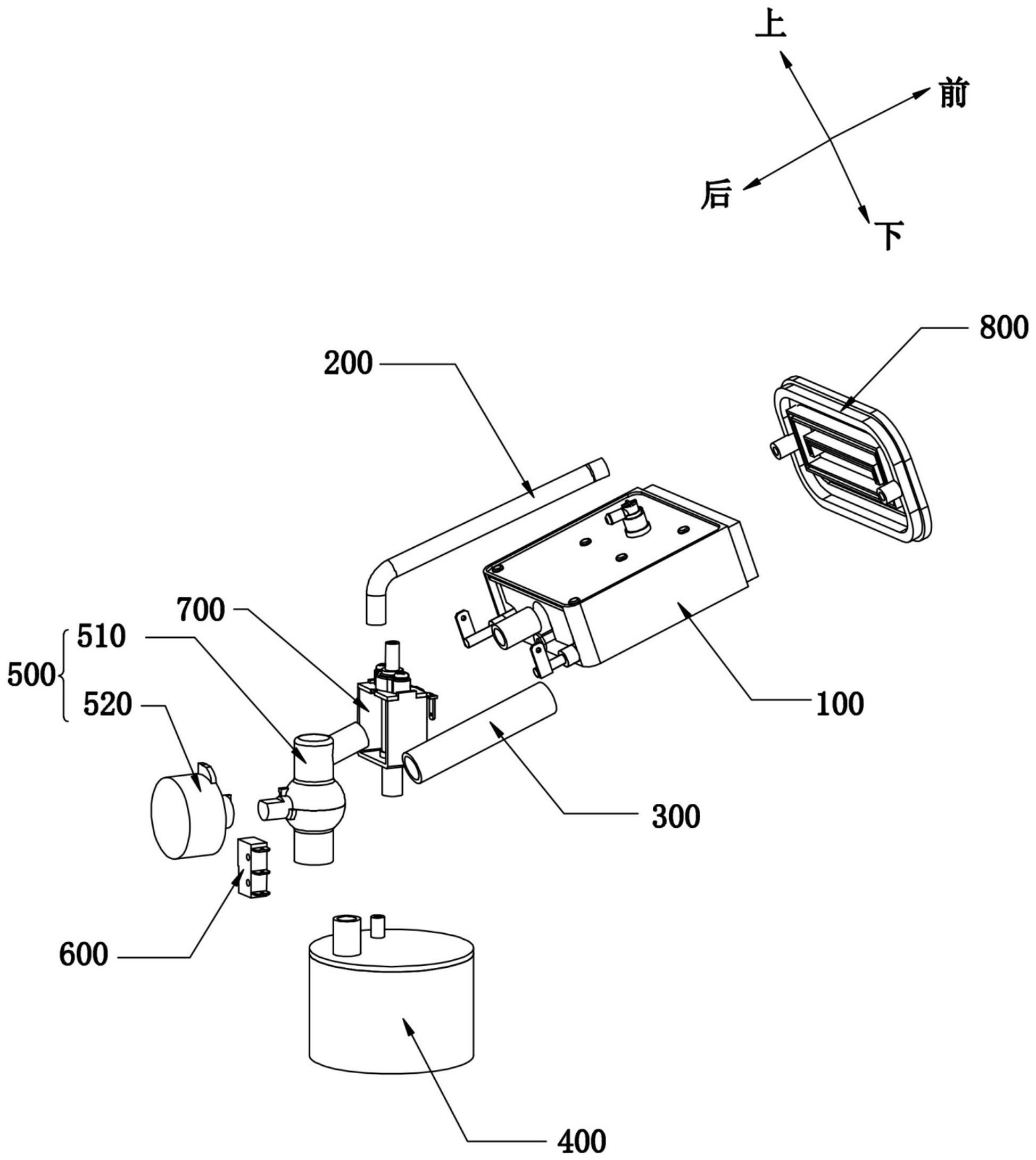
本实用新型涉及一种锅炉的自清洁控制结构。包括,锅炉本体,由控制系统控制其开启或关闭,所述锅炉本体上设置有进液管和出液管;供液容器,所述进液管的输入端和所述出液管的输出端均和所述供液容器连通;控制阀组件,设置在所述出液管上,用于控制所述出液管中管路的打开和关闭;激活构件,和控制系统电连,并且能够在控制阀组件的作用下被激活,从而启动控制系统。与现有技术相比,本实用新型的有益效果在于:1、自清洁功能和蒸汽功能共用一部分的水路,以此来减小自清洁结构的占用空间,降低成本;2、设置手动的自清洁控制结构,相比较自动的自清洁控制结构,故障率低,同时保持用户在使用自清洁功能时的体验感。


