授权公布号:CN219081730U
用于发动机或燃料电池的进气系统的空气滤清器及其滤芯
有效
申请
2022-12-28
申请公布
1970-01-01
授权
2023-05-26
预估到期
2032-12-28
| 申请号 | CN202223534466.9 |
| 申请日 | 2022-12-28 |
| 授权公布号 | CN219081730U |
| 授权公告日 | 2023-05-26 |
| 分类号 | F02M35/024;F02M35/04 |
| 分类 | 燃烧发动机;热气或燃烧生成物的发动机装置; |
| 申请人名称 | 上海索菲玛汽车滤清器有限公司 |
| 申请人地址 | 上海市青浦区徐祥路38号B栋10楼 |
专利法律状态
2023-05-26
授权
状态信息
授权
摘要
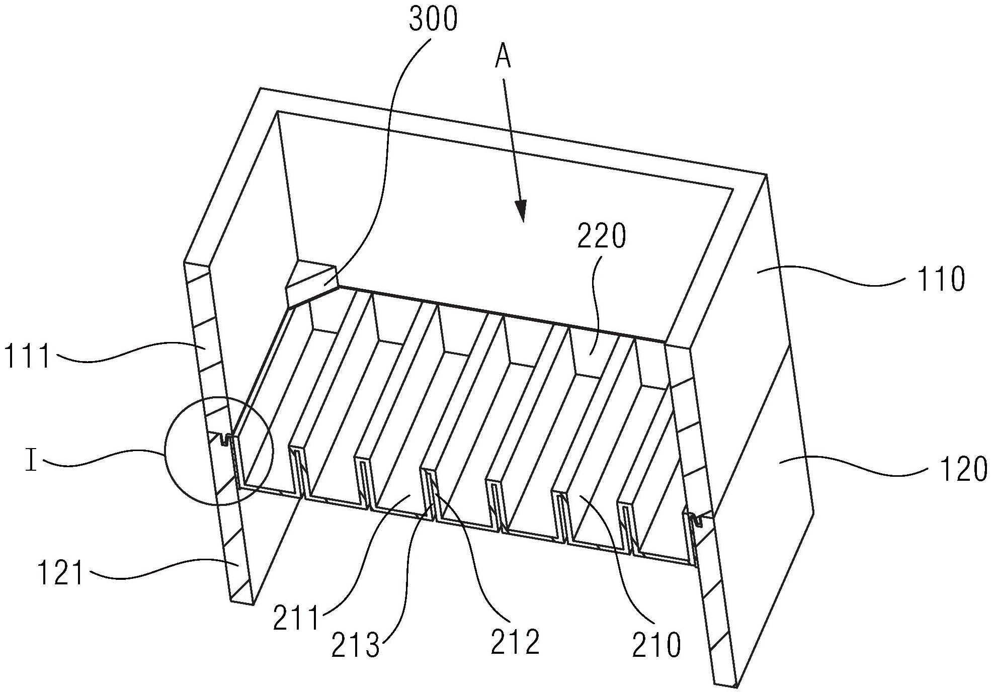
本公开披露了一种用于发动机或燃料电池的进气系统的空气滤清器及其滤芯。空气滤清器包括:壳体(100),具有空气通道,壳体(100)包括第一壳体(110)和第二壳体(120);以及滤芯(200),设置在空气通道中,其中,滤芯(200)包括:过滤元件(210);以及框架元件(220),由片状材料制成,围绕过滤元件(210)设置,包括与过滤元件(210)连接的过滤侧连接片(221)和从过滤侧连接片(221)延伸形成的密封沿(222),密封沿(222)夹持在第一壳体(110)和第二壳体(120)之间。本公开减小了滤芯的边框厚度,增大了过滤面积,提高了过滤效果。


