授权公布号:CN112237770B
具有补偿装置的过滤器滤芯
有效
申请
2019-07-16
申请公布
2021-01-19
授权
2024-01-05
预估到期
2039-07-16
| 申请号 | CN201910642168.5 |
| 申请日 | 2019-07-16 |
| 申请公布号 | CN112237770A |
| 申请公布日 | 2021-01-19 |
| 授权公布号 | CN112237770B |
| 授权公告日 | 2024-01-05 |
| 分类号 | B01D29/11;B01D29/33;B01D35/30 |
| 分类 | 一般的物理或化学的方法或装置; |
| 申请人名称 | 上海索菲玛汽车滤清器有限公司 |
| 申请人地址 | 上海市青浦区青浦工业园区北青公路9785号 |
专利法律状态
2024-01-05
授权
状态信息
授权
2022-07-08
实质审查的生效
状态信息
实质审查的生效;IPC(主分类):B01D29/11;申请日:20190716
2021-01-19
公布
状态信息
公布
摘要
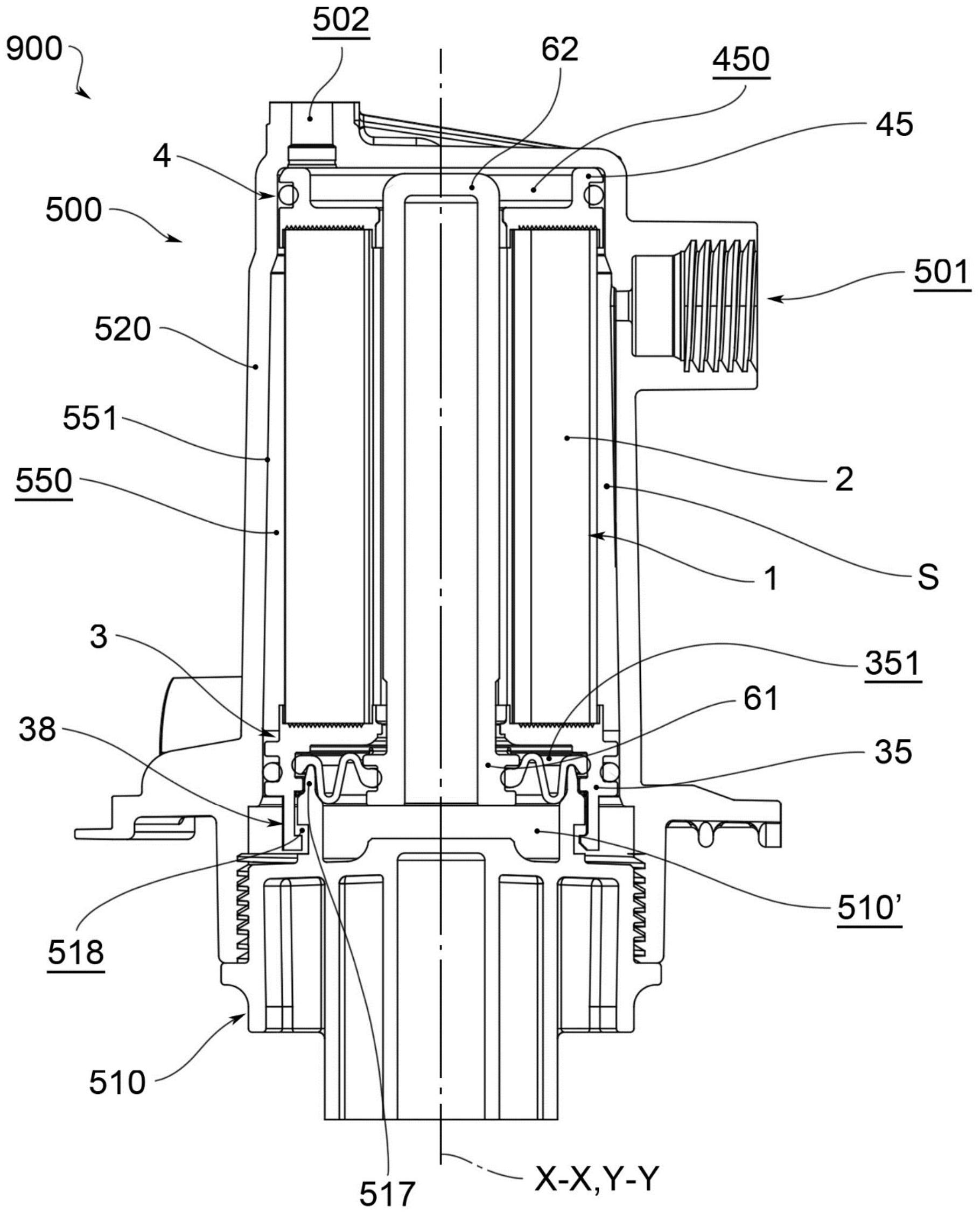
一种流体(10)的过滤组件的过滤器滤芯(1),沿着过滤器轴线(X‑X)延伸,包括:管状的过滤介质(2),其包括中心腔(20),流体可在径向方向上穿过过滤介质(2);第一板(3)和第二板(4),分别包括分别由第一边缘(31)和第二边缘(41)限定的第一通孔(30)和第二通孔(40);形状和/或位置可变的补偿装置(5),以改变水性流体流过的流动部分的体积,形状和/或位置的变化是由于流体的结晶。补偿装置(5)包括:填充元件(6),至少部分地容纳在中心腔(20)中,包括第一端(61)和第二端(62);环形垫圈元件(7),能够弹性地屈服,包括密封地接合第一板(3)的外垫圈边缘(71)和密封地接合第一端(61)的内垫圈边缘(72)。


