授权公布号:CN214736395U
一种电子提花机自动张紧装置
有效
申请
2021-01-25
申请公布
1970-01-01
授权
2021-11-16
预估到期
2031-01-25
| 申请号 | CN202120198963.2 |
| 申请日 | 2021-01-25 |
| 授权公布号 | CN214736395U |
| 授权公告日 | 2021-11-16 |
| 分类号 | D03C3/24 |
| 分类 | 织造; |
| 申请人名称 | 山东思维纺织有限公司 |
| 申请人地址 | 山东省威海市临港区棋山路508号 |
专利法律状态
2021-11-16
授权
状态信息
授权
摘要
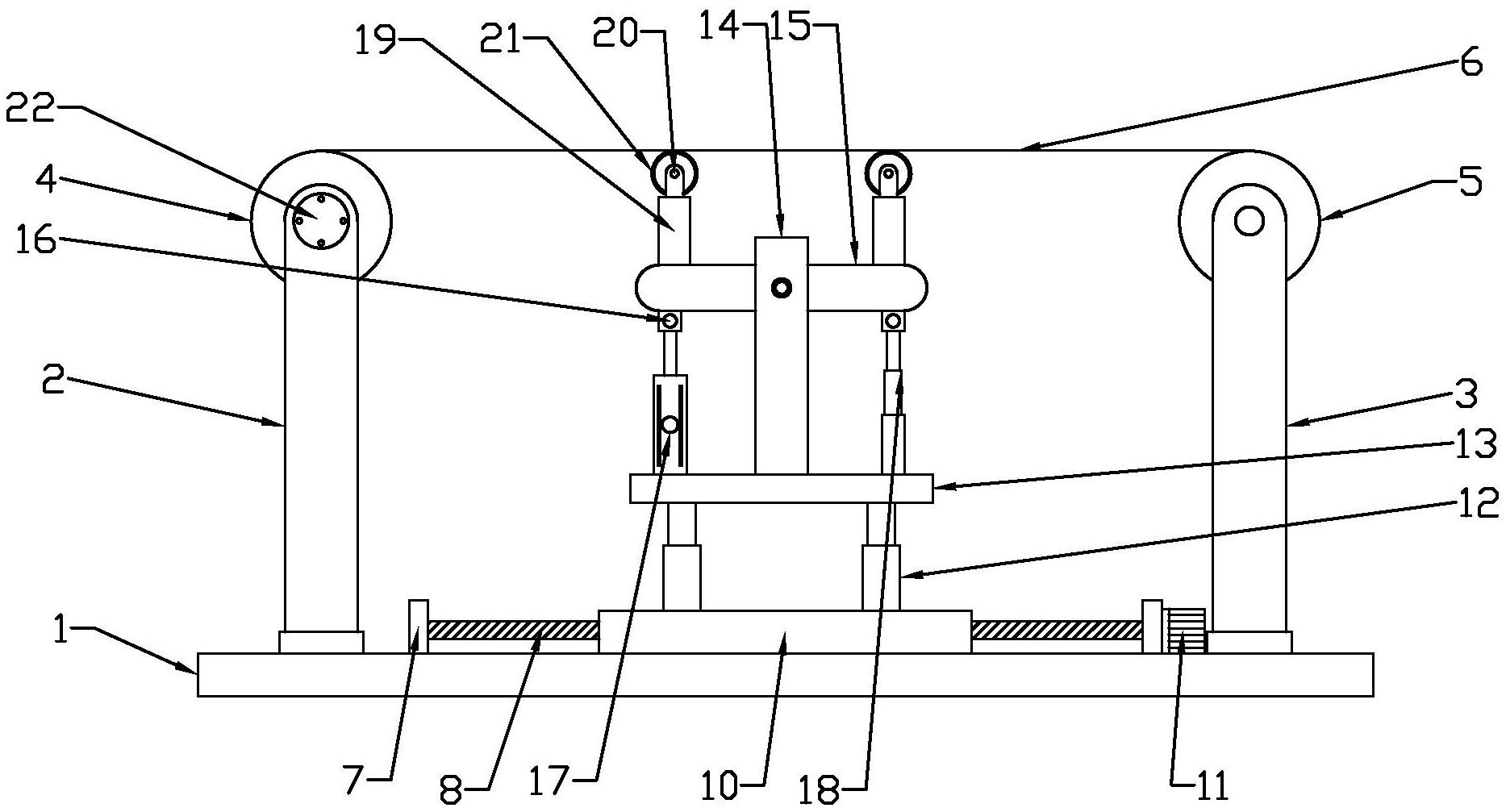
本实用新型属于提花机设备技术领域,尤其为一种电子提花机自动张紧装置,包括底座,所述底座的上端面左右两侧分别固定连接有两个前后分布的第一支架和第二支架,两个所述第一支架之间转动连接有主动辊,两个所述第二支架之间转动连接有从动辊,丝杆转动带动外壁的平板左右移动,从而方便调节两个张紧辊的位置,从而可以灵活调节张紧位置,调节方便,气缸带动活动板的左侧向上翘起,活动板右侧则向下降,从而使两个张紧辊倾斜,便于根据实际情况调节张紧处的角度,方便提花工作,解决了现有的电子提花机自动张紧装置只能简单的调节丝绸的张紧程度,不能够根据实际情况选择张紧位置和丝绸的角度,从而影响丝绸提花效果的问题。


