授权公布号:CN206506307U
一种充电桩执行机构
有效
申请
2016-11-02
申请公布
1970-01-01
授权
2017-09-19
预估到期
2026-11-02
| 申请号 | CN201621174118.7 |
| 申请日 | 2016-11-02 |
| 授权公布号 | CN206506307U |
| 授权公告日 | 2017-09-19 |
| 分类号 | H02J7/00;B60L11/18 |
| 分类 | 发电、变电或配电; |
| 申请人名称 | 陕西天天出行科技有限公司 |
| 申请人地址 | 陕西省西安市南二环西段69号西安创新设计中心3层312室集群注册014号 |
专利法律状态
2019-11-22
专利申请权、专利权的转移
状态信息
专利权的转移;IPC(主分类):H02J7/00;登记生效日:20191105;变更事项:专利权人;变更前:天津市松正电动汽车技术股份有限公司;变更后:陕西天天出行科技有限公司;变更事项:地址;变更前:300308 天津市滨海新区天津自贸区(空港经济区)西十道1号;变更后:710000 陕西省西安市南二环西段69号西安创新设计中心3层312室集群注册014号
2017-09-19
授权
状态信息
授权
摘要
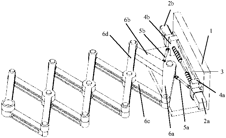
本实用新型公开了一种充电桩执行机构,包括固定架、滑块、顶杆、伸缩机构,所述滑块置于所述固定架上,所述顶杆一端与所述滑块连接,所述顶杆另一端与伸缩机构连接,利用电机驱动、滑块配合平行四边形的伸缩机构快速实现充电器的传送,实现快速、大范围精准定位,具有良好的动态特性,提高电动车充电效率,减轻人工劳动强度。


