授权公布号:CN207834845U
一种多功能高压配电柜
有效
申请
2018-03-05
申请公布
1970-01-01
授权
2018-09-07
预估到期
2028-03-05
| 申请号 | CN201820316170.4 |
| 申请日 | 2018-03-05 |
| 授权公布号 | CN207834845U |
| 授权公告日 | 2018-09-07 |
| 分类号 | H02B1/28;H02B1/56;H02B1/54 |
| 分类 | 发电、变电或配电; |
| 申请人名称 | 保定市博远电气制造有限公司 |
| 申请人地址 | 河北省保定市莲池区东金庄乡后辛庄村 |
专利法律状态
2018-09-07
授权
状态信息
授权
摘要
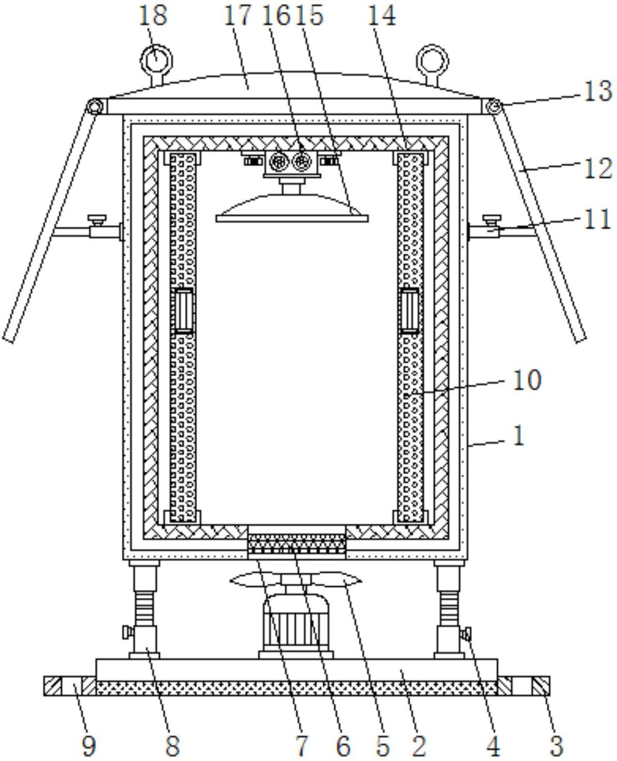
本实用新型公开了一种多功能高压配电柜,包括柜体和底座,所述柜体的顶部设置有遮雨顶棚,所述遮雨顶棚的两侧通过转轴连接有挡雨板,所述柜体的内部两侧设置有竹炭板,所述柜体的内腔顶壁上设置有吸尘器,所述吸尘器的底端连接有吸尘罩,所述柜体的正面铰接有检修门,所述柜体的底部设有散热口,所述柜体与底座之间通过升降支撑柱连接,所述底座的顶部设置有散热风机,所述散热风机位于散热口正下方。本实用新型,在柜体内部两侧设置的竹炭板,能够有效的吸收配电柜内的水分,使配电柜内部空气保持干燥,防止配电柜内的元件设备受潮损坏,且结构简单,隔热保温和降噪效果好,具有除尘和减震的功能,功能多样,使用效果好。


