授权公布号:CN208299222U
一种防积雪低压配电柜
有效
申请
2018-09-30
申请公布
1970-01-01
授权
2018-12-28
预估到期
2028-09-30
| 申请号 | CN201820300052.4 |
| 申请日 | 2018-09-30 |
| 授权公布号 | CN208299222U |
| 授权公告日 | 2018-12-28 |
| 分类号 | H02B1/30;H02B1/28;H02B1/56 |
| 分类 | 发电、变电或配电; |
| 申请人名称 | 保定市博远电气制造有限公司 |
| 申请人地址 | 河北省保定市莲池区东金庄乡后辛庄村 |
专利法律状态
2018-12-28
授权
状态信息
授权
摘要
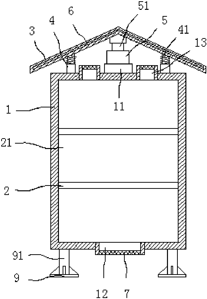
本实用新型公开了一种防积雪低压配电柜,包括配电柜体、遮阳檐、顶部支撑杆、震动电机、下部散热口和稳固座,所述配电柜体内部安装有隔板,所述隔板将配电柜体内部分为多个配电室,所述配电柜体上侧安装有顶部支撑杆,所述顶部支撑杆上端安装有遮阳檐,所述配电柜体上端中部安装有垫板,所述垫板上端安装有震动电机,所述震动电机上端输出端传动连接有震动杆,且震动杆上端与遮阳檐内侧固定连接,所述配电柜体下侧安装有下部散热口,所述配电柜体上侧开设有上部散热口,所述配电柜体下侧安装有支撑脚,本实用新型一种防积雪低压配电柜,冬天下雪时,通过震动电机驱动遮阳檐震动,能够将雪抖落防止积雪压坏配电柜。


