授权公布号:CN218352175U
一种温度保险模块及采用其的浪涌保护器件
有效
申请
2022-05-26
申请公布
1970-01-01
授权
2023-01-20
预估到期
2032-05-26
| 申请号 | CN202221287376.1 |
| 申请日 | 2022-05-26 |
| 授权公布号 | CN218352175U |
| 授权公告日 | 2023-01-20 |
| 分类号 | H02H9/04;H01H85/143;H01H85/08 |
| 分类 | 发电、变电或配电; |
| 申请人名称 | 四川中光防雷科技股份有限公司 |
| 申请人地址 | 四川省成都市高新区西部园区天宇路19号 |
专利法律状态
2023-01-20
授权
状态信息
授权
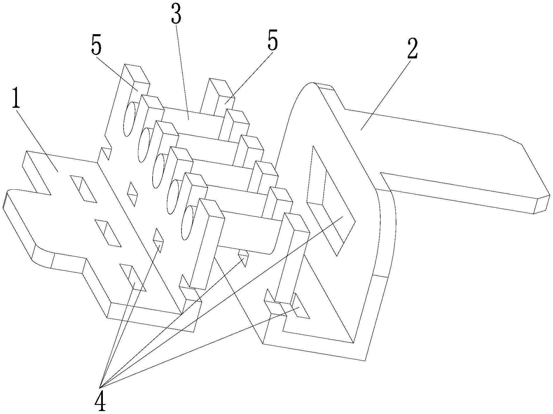
摘要
本实用新型公开一种温度保险模块及采用其的浪涌保护器件,包括电极一、电极二以及热熔断体,所述热熔断体一端与电极一连接,所述热熔断体另一端与电极二连接,所述电极一和电极二中至少有一者其上开设有若干间隔分布的镂空孔。本实用新型所述温度保险模块能有效减小电极一、电极二的热容量,使得电极一、电极二更有效快速升温,进而使得热熔断体能更有效升温,提高熔断保护的可靠性和响应速度,满足电路安全保护的要求。


