授权公布号:CN212483315U
一种视觉检测机构
有效
申请
2020-07-06
申请公布
1970-01-01
授权
2021-02-05
预估到期
2030-07-06
| 申请号 | CN202021301564.6 |
| 申请日 | 2020-07-06 |
| 授权公布号 | CN212483315U |
| 授权公告日 | 2021-02-05 |
| 分类号 | G01N21/01 |
| 分类 | 测量;测试; |
| 申请人名称 | 上海矩子科技股份有限公司 |
| 申请人地址 | 上海市闵行区中春路7001号2幢408室 |
专利法律状态
2021-02-05
授权
状态信息
授权
摘要
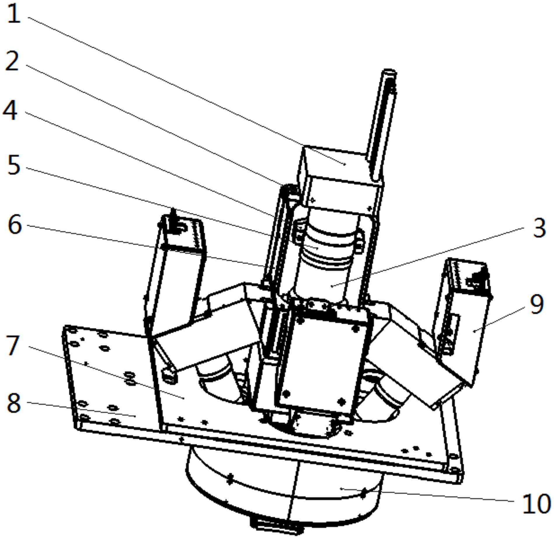
本实用新型涉及AOI检测设备领域,公开了一种视觉检测机构,包括用于固定安装在设备机架横梁上的直角基板,以及可拆卸的设置在直角基板上的视觉组装结构;视觉组装结构包括与直角基板可拆卸连接的投影筒固定板,固定在投影筒固定板下表面上的灯源,固定在投影筒固定板上表面上的投影安装筒,设置在投影安装筒四周的多个投影装置,通过相机安装件可调节的固定在投影安装筒上的工业相机,以及固定在工业相机上的远心镜头;投影安装筒上的圆孔与投影筒固定板上的光源孔相对;投影装置下端倾斜穿过投影筒固定板与光源连接。通过上述方式,本实用新型的视觉组装结构部分可以单独运输,避免在整机运输过程中震动带来的对相机镜头投影等安装精度的影响。


