授权公布号:CN217746349U
一种智慧城市喷雾桩
有效
申请
2022-07-14
申请公布
1970-01-01
授权
2022-11-08
预估到期
2032-07-14
| 申请号 | CN202221804835.9 |
| 申请日 | 2022-07-14 |
| 授权公布号 | CN217746349U |
| 授权公告日 | 2022-11-08 |
| 分类号 | B01D47/06 |
| 分类 | 一般的物理或化学的方法或装置; |
| 申请人名称 | 廊坊雾鸟喷雾系统技术有限公司 |
| 申请人地址 | 河北省廊坊市固安县新源东街北侧、永和路西侧东郦湖小区第0010幢01单元12层1205号 |
专利法律状态
2022-11-08
授权
状态信息
授权
摘要
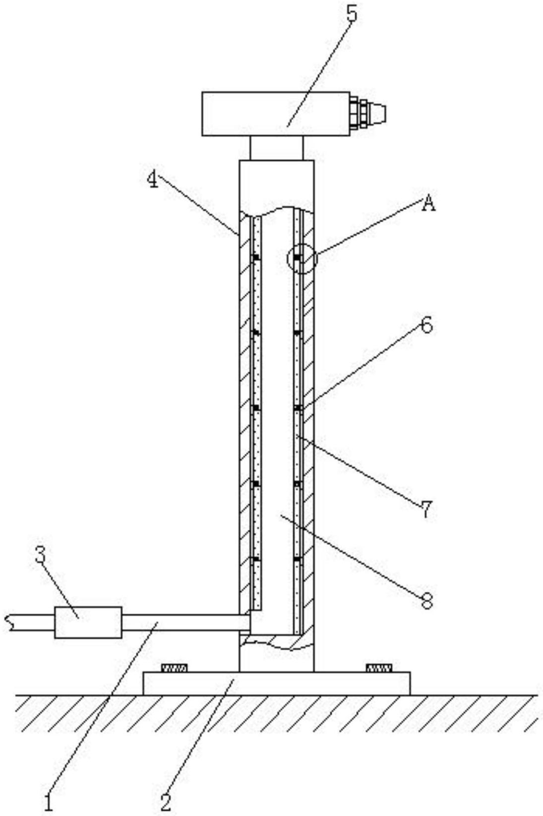
本申请提供一种智慧城市喷雾桩,包括内部设有安装腔体的喷雾桩主体、加热装置和保温装置,喷雾桩主体的一端设有与安装腔体连通的输出口,喷雾桩主体的侧壁上设有与安装腔体连通的输入口;喷雾装置安装在喷雾桩主体上且与输出口连通,输入口连接有送水管,送水管的一端伸入安装腔体内且与喷雾装置连接,送水管的另一端连接有送水装置;加热装置设置在安装腔体内,且套设在送水管外壁,用于为送水管加热;保温装置设置在安装腔体内,且套设在加热装置外壁,用于对送水管进行保温。通过上述结构使得,在天气寒冷时,避免送水管发生冻裂的情况,进而减少维护的成本。


