授权公布号:CN217609170U
一种多功能喷雾装置
有效
申请
2022-06-30
申请公布
1970-01-01
授权
2022-10-21
预估到期
2032-06-30
| 申请号 | CN202221663648.3 |
| 申请日 | 2022-06-30 |
| 授权公布号 | CN217609170U |
| 授权公告日 | 2022-10-21 |
| 分类号 | A01M7/00 |
| 分类 | 农业;林业;畜牧业;狩猎;诱捕;捕鱼; |
| 申请人名称 | 廊坊雾鸟喷雾系统技术有限公司 |
| 申请人地址 | 河北省廊坊市固安县新源东街北侧、永和路西侧东郦湖小区第0010幢01单元12层1205号 |
专利法律状态
2022-10-21
授权
状态信息
授权
摘要
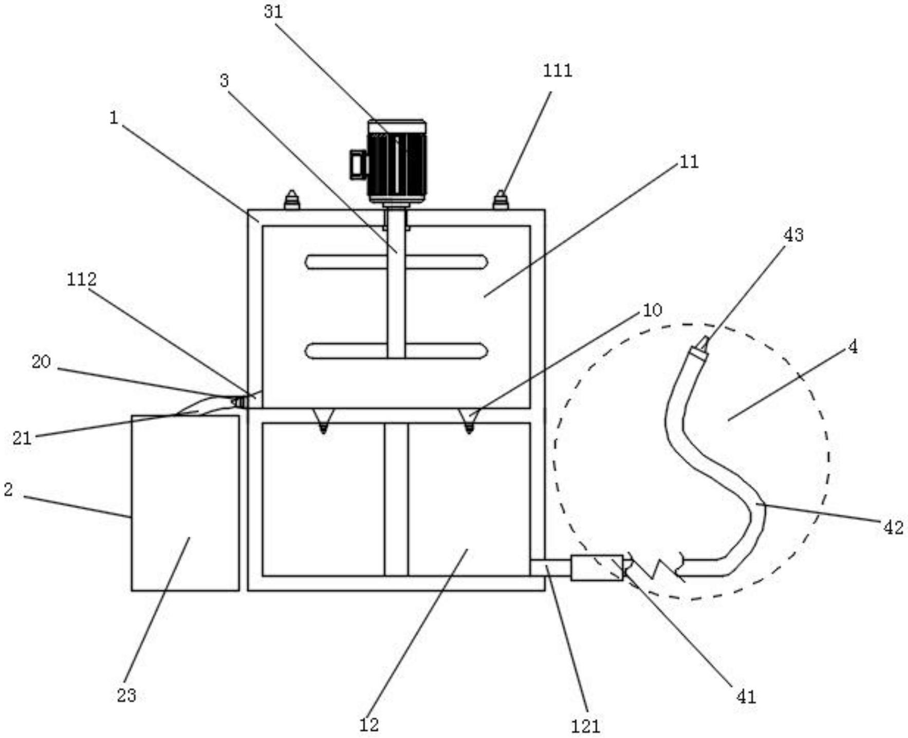
本申请提供一种多功能喷雾装置,用于农药喷射,包括:第一储存箱,第一储存箱内开设有第一空腔,第一储存箱顶部开设有和第一空腔连通的第一输入口;第一空腔下方开设至少两个和第一空腔连通的第二空腔,第二空腔和第一空腔之间设有第一开关阀;第一储存箱的侧壁上开设有和第二空腔连通的第一输出口,第一输出口处设有农药输送组件;第一储存箱的侧壁上还开设有和第一空腔连通的第二输出口;第二储存箱,第二储存箱位于第一储存箱的一侧,第二储存箱内开设有第三空腔,第三空腔通过第一连通管和第二输出口连通,第二输出口处设有第二开关阀;该喷雾装置可以实现一次配制多种农药混合液,可以向农作物一次喷洒多种农药。


