授权公布号:CN213219547U
一种用于车辆消毒喷雾装置的升降机构
有效
申请
2020-09-11
申请公布
1970-01-01
授权
2021-05-18
预估到期
2030-09-11
| 申请号 | CN202021983017.0 |
| 申请日 | 2020-09-11 |
| 授权公布号 | CN213219547U |
| 授权公告日 | 2021-05-18 |
| 分类号 | A61L2/22;A61L2/26 |
| 分类 | 医学或兽医学;卫生学; |
| 申请人名称 | 常州曲辰环保科技有限公司 |
| 申请人地址 | 江苏省常州市西太湖科技产业园兰香路8号的10号厂房 |
专利法律状态
2021-05-18
授权
状态信息
授权
摘要
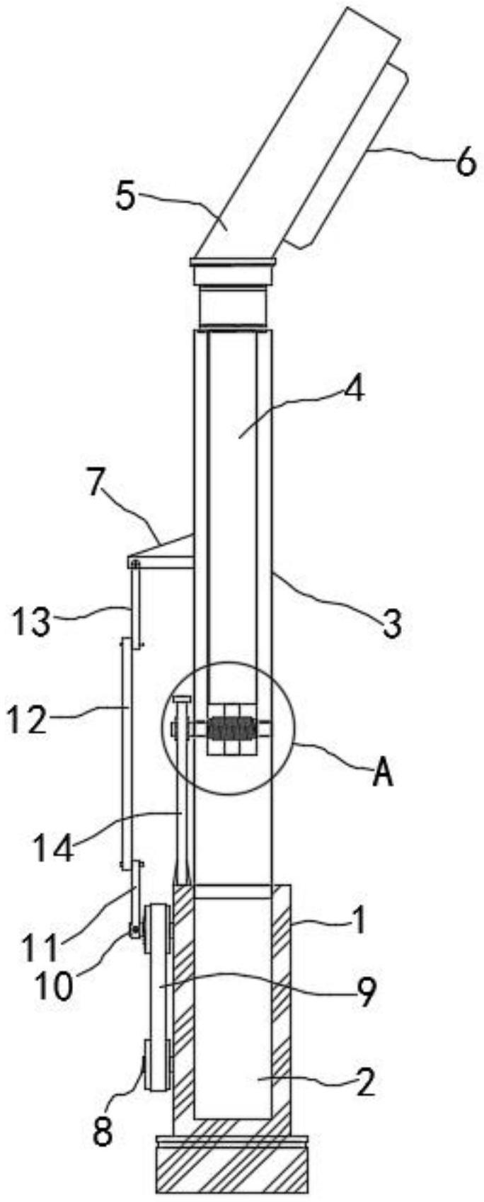
本实用新型涉及消毒喷雾装置技术领域,尤其涉及一种用于车辆消毒喷雾装置的升降机构,解决现有技术中存在消毒效果差的缺点,包括底座,所述底座的内部滑动设置有升降机架,升降机架的内部转动安装有转动柱,所述转动柱的顶部通过螺栓固定安装有喷雾座,喷雾座的一侧设有雾化喷头;所述底座的一侧分别转动安装有驱动轴和从动轴,所述驱动轴和从动轴的外部设有同步带,通过曲柄、连杆、活塞杆、转动柱以及升降机架等结构的设置,在喷雾时,伺服电机驱动源经曲柄连杆机构可推动升降机架上下滑动,同时在此过程中一侧的齿轮与齿条配合动作使得转动柱左右转动,喷雾范围大,喷雾均匀,提升了消毒的效果。


