授权公布号:CN216736593U
一种高速涂料混匀输送装置
有效
申请
2021-12-02
申请公布
1970-01-01
授权
2022-06-14
预估到期
2031-12-02
| 申请号 | CN202123012177.8 |
| 申请日 | 2021-12-02 |
| 授权公布号 | CN216736593U |
| 授权公告日 | 2022-06-14 |
| 分类号 | B65G65/42;B65G69/18;B01F27/90;B01F35/75;B01F101/30N |
| 分类 | 输送;包装;贮存;搬运薄的或细丝状材料; |
| 申请人名称 | 广东米奇涂料有限公司 |
| 申请人地址 | 广东省江门市鹤山市鹤城镇新材料产业基地 |
专利法律状态
2022-06-14
授权
状态信息
授权
摘要
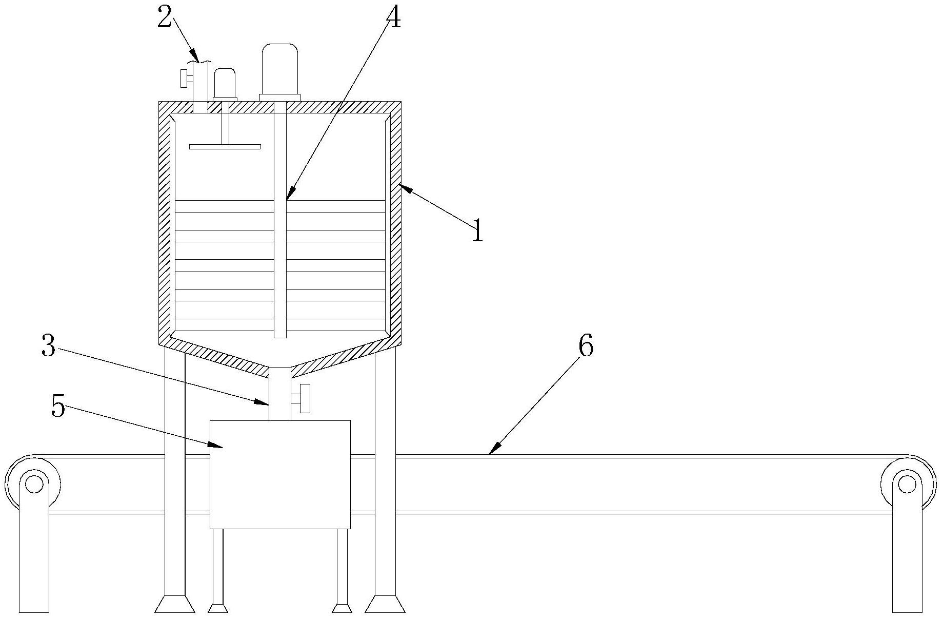
本实用新型公开一种高速涂料混匀输送装置,包括混料箱,设置在所述混料箱的顶部的、且与所述混料箱的内部连通的进料管,设置在所述混料箱的底部的、且与所述混料箱的内部连通的出料管,设置在所述混料箱内部的混料机构,与所述出料管的下端连通的粉尘遮挡室,以及由左至右穿过粉尘遮挡室的皮带输送机构;通过设置粉尘遮挡室能在出料管把混料箱的粉状涂料原料下料至皮带输送机构的过程中,对飞扬的粉尘进行遮挡,把大部分的飞扬的粉尘局限在粉尘遮挡室的内部,减少出料管下料过程中逸散至车间内的粉尘量。


