授权公布号:CN206616301U
一种用于醋青保暖面料生产的和毛油加油装置
有效
申请
2017-03-31
申请公布
1970-01-01
授权
2017-11-07
预估到期
2027-03-31
| 申请号 | CN201720330239.4 |
| 申请日 | 2017-03-31 |
| 授权公布号 | CN206616301U |
| 授权公告日 | 2017-11-07 |
| 分类号 | D01G29/00 |
| 分类 | 天然或人造的线或纤维;纺纱或纺丝; |
| 申请人名称 | 浙江富润纺织有限公司 |
| 申请人地址 | 浙江省绍兴市诸暨市陶朱街道北二环路29号 |
专利法律状态
2017-11-07
授权
状态信息
授权
摘要
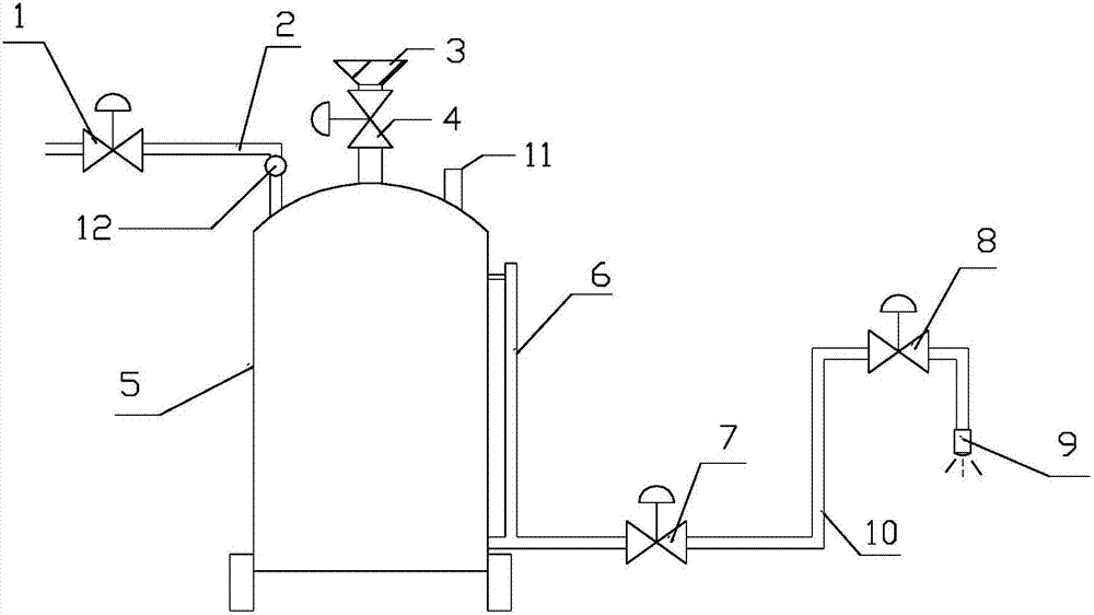
一种用于醋青保暖面料生产的和毛油加油装置,包括和毛油桶、液位器、进压缩空气管、进气阀门、出油阀门、出油管和喷嘴,所述进压缩空气管的一端通过进气阀门与进气装置连接,所述进压缩空气管的另一端通过稳压器与所述和毛油桶的上端连通,所述液位器位于所述和毛油桶的外侧并与和毛油桶连通,所述出油管的一端通过出油阀门同时与和毛油桶的下端、液位器的下端连通,所述出油管的另一端通过电磁阀与所述喷嘴连通;所述和毛油桶上还设有安全阀。本实用新型提供一种可调节油量大小、雾化较好的用于醋青保暖面料生产的和毛油加油装置。


