授权公布号:CN210150475U
一种前纱线收卷机构
有效
申请
2019-05-06
申请公布
1970-01-01
授权
2020-03-17
预估到期
2029-05-06
| 申请号 | CN201920637108.X |
| 申请日 | 2019-05-06 |
| 授权公布号 | CN210150475U |
| 授权公告日 | 2020-03-17 |
| 分类号 | B65H54/44;B65H54/28;B65H54/52 |
| 分类 | 输送;包装;贮存;搬运薄的或细丝状材料; |
| 申请人名称 | 浙江富润纺织有限公司 |
| 申请人地址 | 浙江省绍兴市诸暨市北二环路29号 |
专利法律状态
2020-03-17
授权
状态信息
授权
摘要
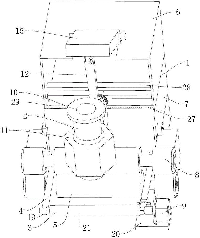
本实用新型本实用新型涉及纱线技术领域,具体涉及前纱线收卷机构,包括有机架、入料机构、收卷筒、两个收缩杆和两个滚筒,机架还包括有均呈水平设置的上机座和下机座,下机架的左右两侧分别安装有用于固定两个滚筒的轴座,两个滚筒的端部之间设有供收缩杆穿过的间隙,收卷筒还包括有旋转电机,电机的输出轴与收卷筒传动连接,入料机构还包括有圆柱形入料通道、入料外壳、连接杆、旋转机构和横向位移机构,上机座顶部靠近开口一侧设置有与上机座铰接的活动板,通过旋转电机直接与收卷筒传动连接,从而更加高效的实现收卷纱线,通过入料机构的旋转机构实现了纱线先旋转后收卷,收缩杆实现了收卷筒和滚筒在运行时时刻抵触,使得纱线收卷更加精准。


