授权公布号:CN214395477U
一种桶装涂料包装机
有效
申请
2021-01-06
申请公布
1970-01-01
授权
2021-10-15
预估到期
2031-01-06
| 申请号 | CN202120025216.9 |
| 申请日 | 2021-01-06 |
| 授权公布号 | CN214395477U |
| 授权公告日 | 2021-10-15 |
| 分类号 | B29C65/30;B29C65/18 |
| 分类 | 塑料的加工;一般处于塑性状态物质的加工; |
| 申请人名称 | 泉州市长兴化工材料有限公司 |
| 申请人地址 | 福建省泉州市惠安县泉惠石化工业区(东桥) |
专利法律状态
2021-10-15
授权
状态信息
授权
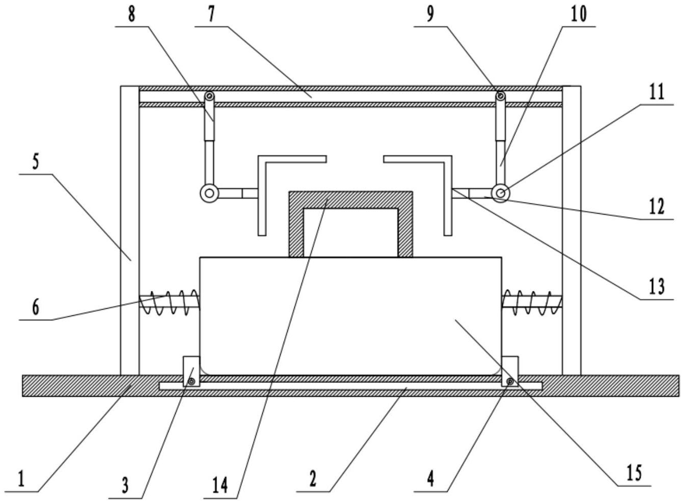
摘要
本实用新型涉及涂料包装技术领域,具体公开了一种桶装涂料包装机,包括底板,底板上开有凹槽,凹槽内对称设有与凹槽滑动连接的限位块,底板两侧均垂直固接有安装板,安装板之间固接有功能板,功能板上开有滑动槽,滑动槽内对称设有可在滑动槽内滑动的伸缩杆,伸缩杆的自由端固接有转动轴,转动轴自由端转动连接有安装块,安装块的自由端可拆卸连接有电烙铁,本装置解决了传统的涂料包装机普适性较差的问题。


