授权公布号:CN210001303U
一种纱线前纺转向机构
有效
申请
2019-05-07
申请公布
1970-01-01
授权
2020-01-31
预估到期
2029-05-07
| 申请号 | CN201920640070.1 |
| 申请日 | 2019-05-07 |
| 授权公布号 | CN210001303U |
| 授权公告日 | 2020-01-31 |
| 分类号 | B65H51/14;B65H57/02;B08B1/04;D01H11/00 |
| 分类 | 输送;包装;贮存;搬运薄的或细丝状材料; |
| 申请人名称 | 浙江富润纺织有限公司 |
| 申请人地址 | 浙江省绍兴市诸暨市北二环路29号 |
专利法律状态
2020-01-31
授权
状态信息
授权
摘要
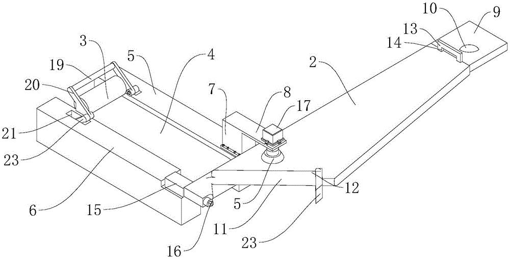
本实用新型涉及纺织技术领域,具体涉及一种纱线前纺转向机构。包括有两组在水平方向上完全对称设置的转向机构,每组转向机构均设置有转向板、滚筒、传送带、毛刷和机架,传送带水平设置,机架设置在传送带的两侧且机架长度方向与传送带长度方向一致,机架还设有第一固定座,第一固定座的顶部设有延伸至转向板的上方的延伸板,毛刷可转动的竖直设置于延伸板与转向板之间,两组转向机构的转向板之间水平设置有一块汇流板,汇流板还设置有供纱线穿过的汇流孔。本实用新型的转向板实现了转向功能,毛刷起到对纱线的清洁作用,滚筒实现了压平传送带上纱线的功能,汇流板能够最终汇集多股纱线且不易割伤纱线,保证了纱线的品质。


