授权公布号:CN218849920U
一种组合式安全排插
有效
申请
2022-08-31
申请公布
1970-01-01
授权
2023-04-11
预估到期
2032-08-31
| 申请号 | CN202222312952.X |
| 申请日 | 2022-08-31 |
| 授权公布号 | CN218849920U |
| 授权公告日 | 2023-04-11 |
| 分类号 | H01R13/52;H01R13/62;H01R13/60;H01R25/00 |
| 分类 | 基本电气元件; |
| 申请人名称 | 广东百事泰医疗器械股份有限公司 |
| 申请人地址 | 广东省深圳市宝安区西乡街道铁岗社区宝田一路358号厂区三层 |
专利法律状态
2023-04-11
授权
状态信息
授权
摘要
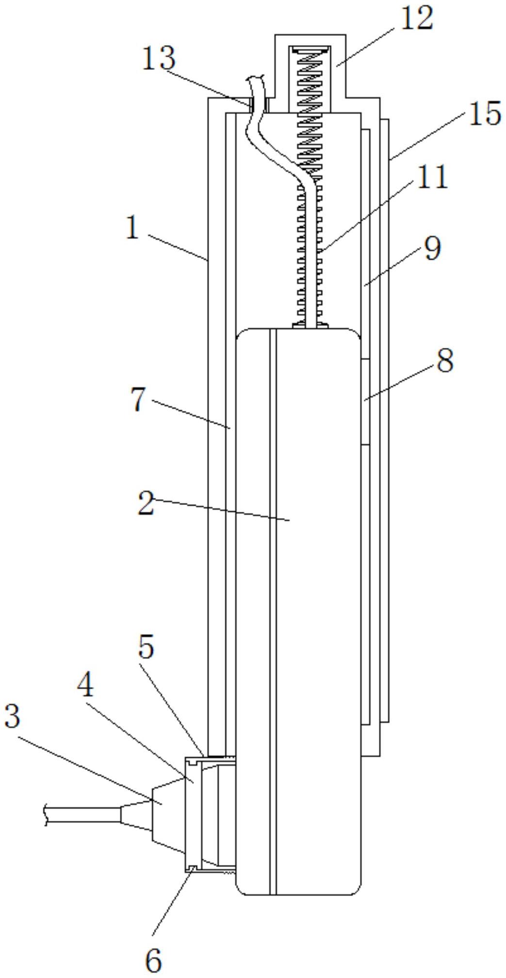
本实用新型公开了一种组合式安全排插,包括壳体和排插,所述壳体下端开口设置,排插一端顺着开口插入壳体中,排插的前方设有多个连接槽,排插上的插口设置于连接槽中,外漏的插口中插入有插头,插头的外壁面上凸出形成圆形结构的连接部,连接部的外部套有连接管,连接管一端插入连接槽中,并与连接槽螺纹连接,壳体的顶面上安装有筒体,筒体内部安装有弹簧,弹簧下端安装于排插的顶面上,壳体内部朝向排插插口的一侧面上安装有橡胶层。本实用新型结构简单,能根据插头的数量向外拉出排插,使排插不使用的部分隐藏在壳体中,并通过橡胶层和壳体密封,通过连接管能与连接槽螺纹连接,保证插头连接的稳定性,避免了进水和松动。


