授权公布号:CN201943266U
一种应用于屋面阳光板系统的双向滑移点式连接部件
失效
申请
2010-12-27
申请公布
1970-01-01
授权
2011-08-24
预估到期
2020-12-27
| 申请号 | CN201020683499.8 |
| 申请日 | 2010-12-27 |
| 授权公布号 | CN201943266U |
| 授权公告日 | 2011-08-24 |
| 分类号 | E04D3/36;E04D12/00 |
| 分类 | 建筑物; |
| 申请人名称 | 上海汇丽-塔格板材有限公司 |
| 申请人地址 | 上海市浦东新区康桥工业区康桥东路268号 |
专利法律状态
2021-01-12
专利权的终止
状态信息
专利权有效期届满;IPC(主分类):E04D3/36;专利号:ZL2010206834998;申请日:20101227;授权公告日:20110824;终止日期:
2011-08-24
实用新型专利权授予
状态信息
授权
摘要
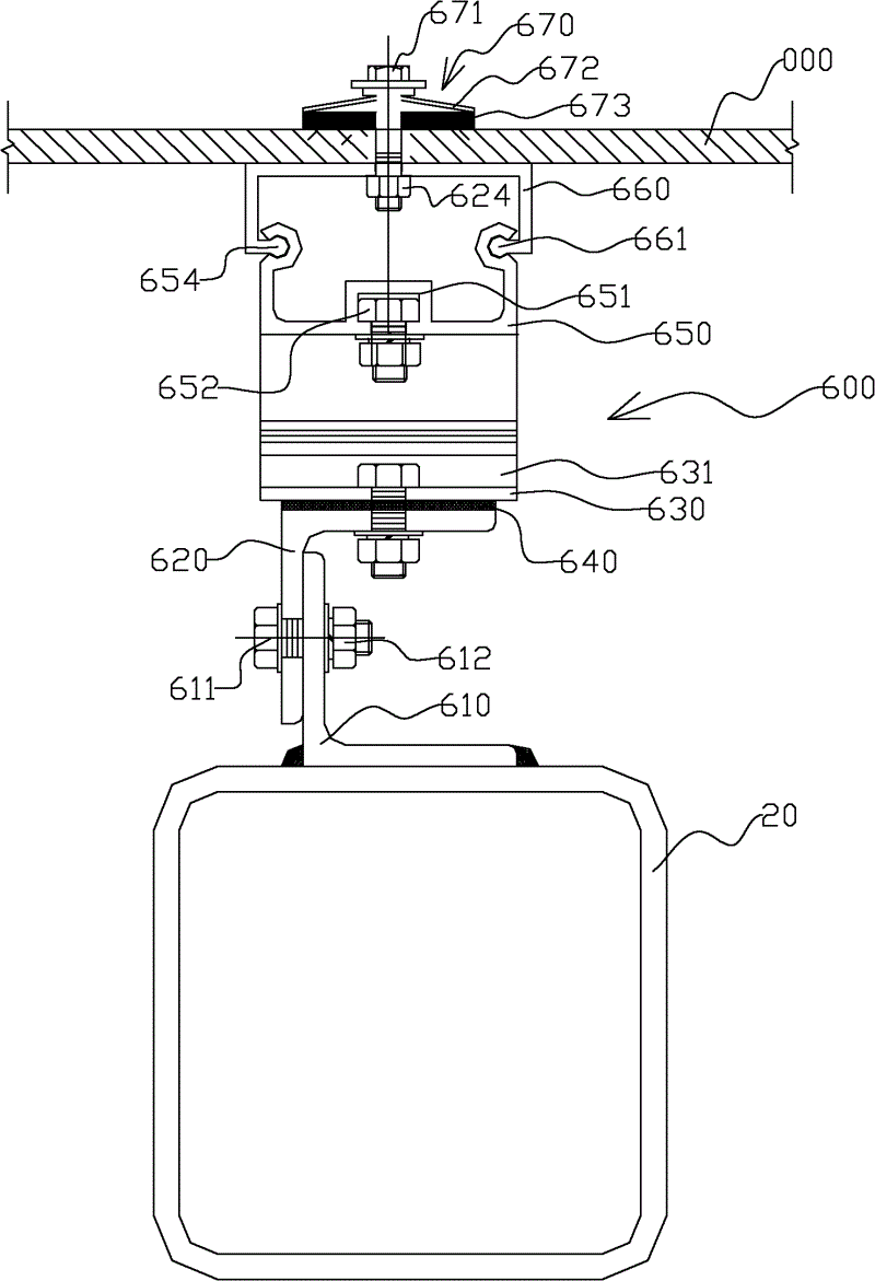
本实用新型公开的一种应用于屋面阳光板系统的双向滑移点式连接部件,其包括:一固定在支撑架构中方钢管檩条上的角钢调节支座;通过螺栓以及螺母滑移安装在角钢调节支座上的板下滑移支座,通过螺栓以及螺母固定安装在板下滑移支座上的板中间滑移支座,一滑动安装在板中间滑移支座上的板上滑移支座;若干将所述阳光板与所述板上滑移支座连接的板点式连接部件。由于板上滑移支座可相对支撑架构中的方钢管檩条进行一个方向的滑移,板上滑移支座可相对板中间滑移支座进行另一个方向的滑移,即可以满足阳光板相对支撑架构中的方钢管檩条在水平方向四个方向的滑移,给阳光板热胀冷缩的内应力提供了释放空间。


