授权公布号:CN102535758B
一种应用于屋面阳光板系统的单元连接构件
有效
申请
2010-12-27
申请公布
2012-07-04
授权
2014-03-05
预估到期
2030-12-27
| 申请号 | CN201010608260.9 |
| 申请日 | 2010-12-27 |
| 申请公布号 | CN102535758A |
| 申请公布日 | 2012-07-04 |
| 授权公布号 | CN102535758B |
| 授权公告日 | 2014-03-05 |
| 分类号 | E04D3/36;E04D3/365;E04D13/04;E04D13/064;E04D3/38 |
| 分类 | 建筑物; |
| 申请人名称 | 上海汇丽-塔格板材有限公司 |
| 申请人地址 | 上海市浦东新区康桥工业区康桥东路268号 |
专利法律状态
2014-03-05
授权
状态信息
授权
2012-09-05
实质审查的生效
状态信息
实质审查的生效IPC(主分类):E04D 3/36申请日:20101227
2012-07-04
公布
状态信息
公开
摘要
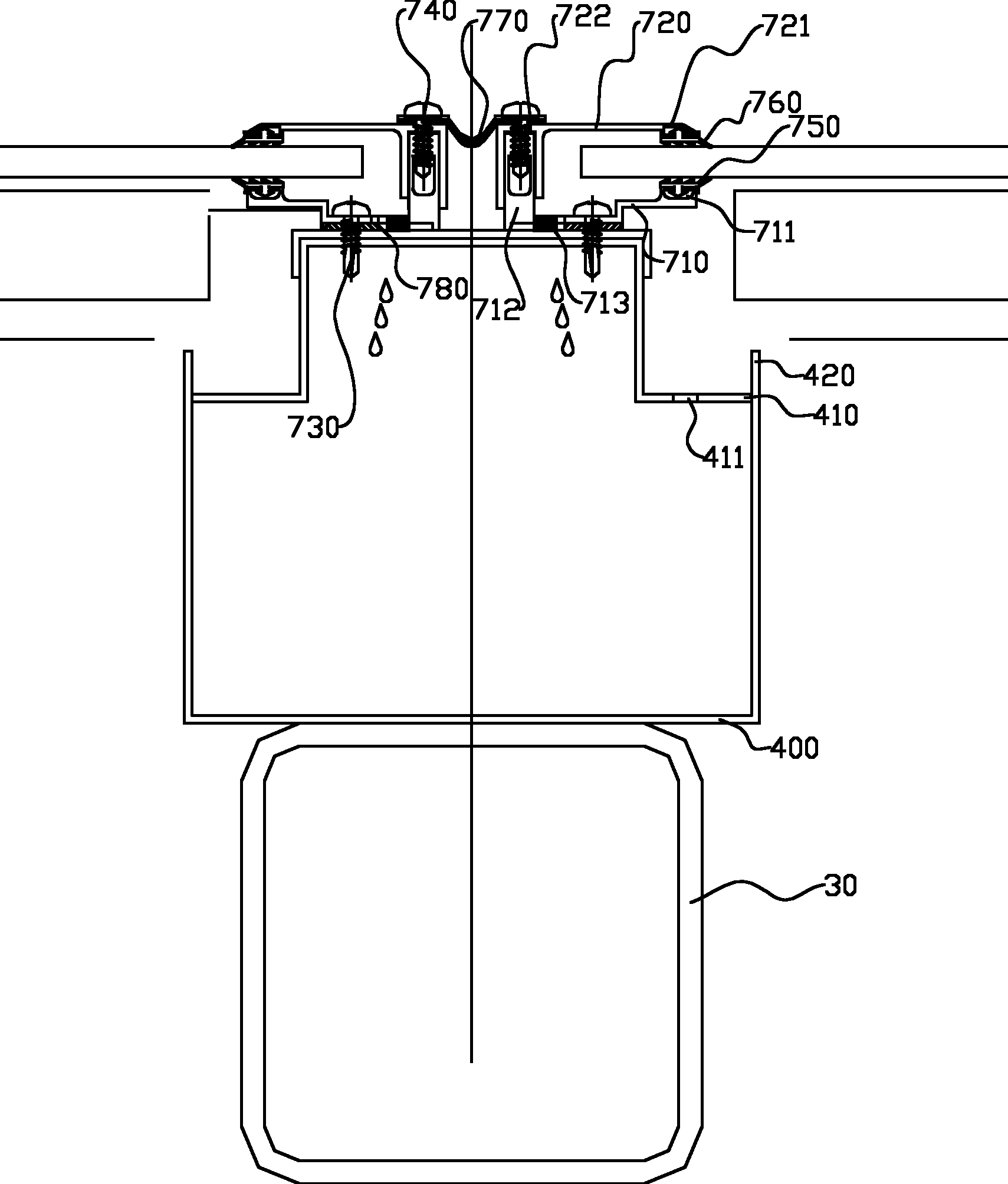
一种应用于屋面阳光板系统的单元连接构件,其包括:一固定在支撑架构中方钢管檩条上的排水沟;通过拉铆钉对称固定在排水沟顶面上的一对单元下收口型材以及一对单元上收口型材,还包括安装在一对单元下收口型材和一对单元上收口型材上的单元上、下收口胶条,单元上、下收口胶条夹持在相邻单元的阳光板的上、下表面上;本发明由于在屋面中间,尤其是各单元之间设置排水沟,能及时将屋面中间的积水排除,不会造成屋面中间渗水。本发明不用提前在阳光板上打扩大孔,节省了安装时间,该阳光板连接构件能自动释放阳光板因热胀冷缩而产生的内应力,从而消除了因阳光板内应力过大而导致的阳光板表面隆起、胶条与阳光板表面之间出现缝隙而造成的渗漏。


