授权公布号:CN109570457B
一种具有除尘功能的自动加硅铁设备的使用方法
有效
申请
2019-01-23
申请公布
2019-04-05
授权
2023-04-14
预估到期
2039-01-23
| 申请号 | CN201910061594.X |
| 申请日 | 2019-01-23 |
| 申请公布号 | CN109570457A |
| 申请公布日 | 2019-04-05 |
| 授权公布号 | CN109570457B |
| 授权公告日 | 2023-04-14 |
| 分类号 | B22D1/00;B22D45/00;C21C7/00 |
| 分类 | 铸造;粉末冶金; |
| 申请人名称 | 山西大通铸业有限公司 |
| 申请人地址 | 山西省晋城市泽州县川底乡和村村 |
专利法律状态
2023-04-14
授权
状态信息
授权
2019-04-05
公布
状态信息
公布
摘要
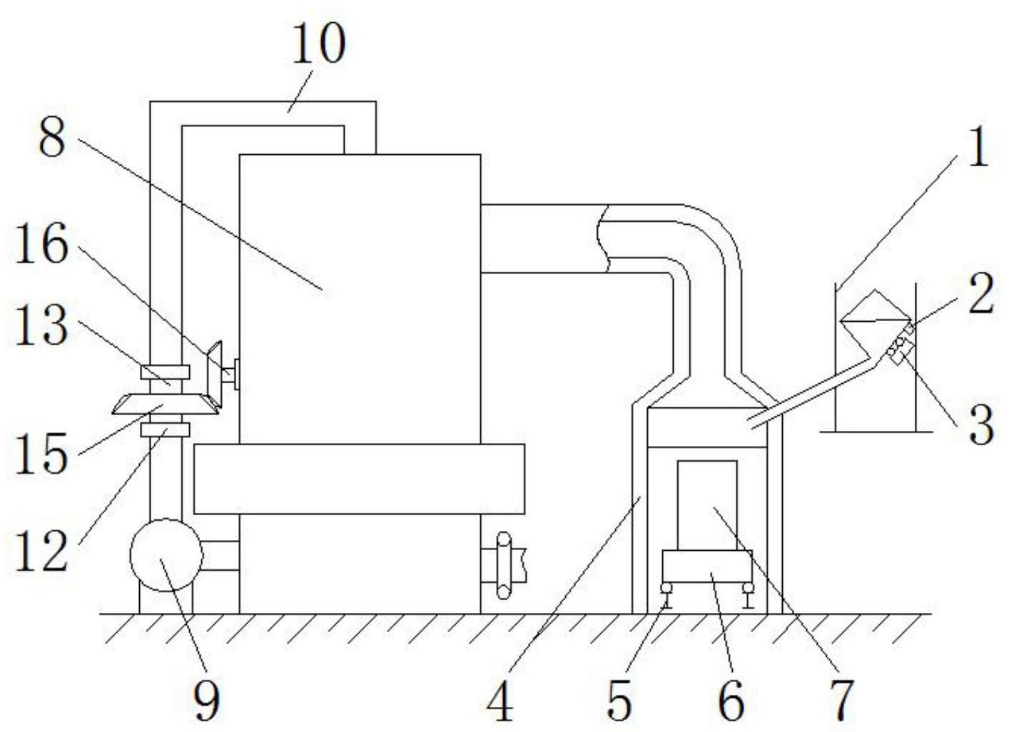
本发明公开了一种具有除尘功能的自动加硅铁设备的使用方法,包括料仓、计重器、振动器和球化包,所述料仓上安装有计重器,所述加硅仓的内部安装有道轨,所述加硅仓和除尘室相连接,所述水管上安装有雾化喷头,所述工作轴承安装在活动筒上,所述动力轮和横杆相连接,且横杆安装在除尘室上,并且横杆和竖杆相连接,所述竖杆安装在除尘室的内部,且竖杆下端固定有清洁杆,并且清洁杆和过滤网相连接,所述过滤网固定在固定框上,且固定框固定在除尘室的内壁上。该具有除尘功能的自动加硅铁设备的使用方法,采用新型的结构设计,设计了具有除尘功能的结构,解决了不方便除尘的问题,同时设计了具有清理功能的结构,解决了传统设备不方便清理的问题。


