授权公布号:CN213104468U
一种铁水包吊耳转轴耐磨装置
有效
申请
2020-08-04
申请公布
1970-01-01
授权
2021-05-04
预估到期
2030-08-04
| 申请号 | CN202021595310.X |
| 申请日 | 2020-08-04 |
| 授权公布号 | CN213104468U |
| 授权公告日 | 2021-05-04 |
| 分类号 | B22D41/00 |
| 分类 | 铸造;粉末冶金; |
| 申请人名称 | 山西大通铸业有限公司 |
| 申请人地址 | 山西省晋城市泽州县川底乡和村村 |
专利法律状态
2021-05-04
授权
状态信息
授权
摘要
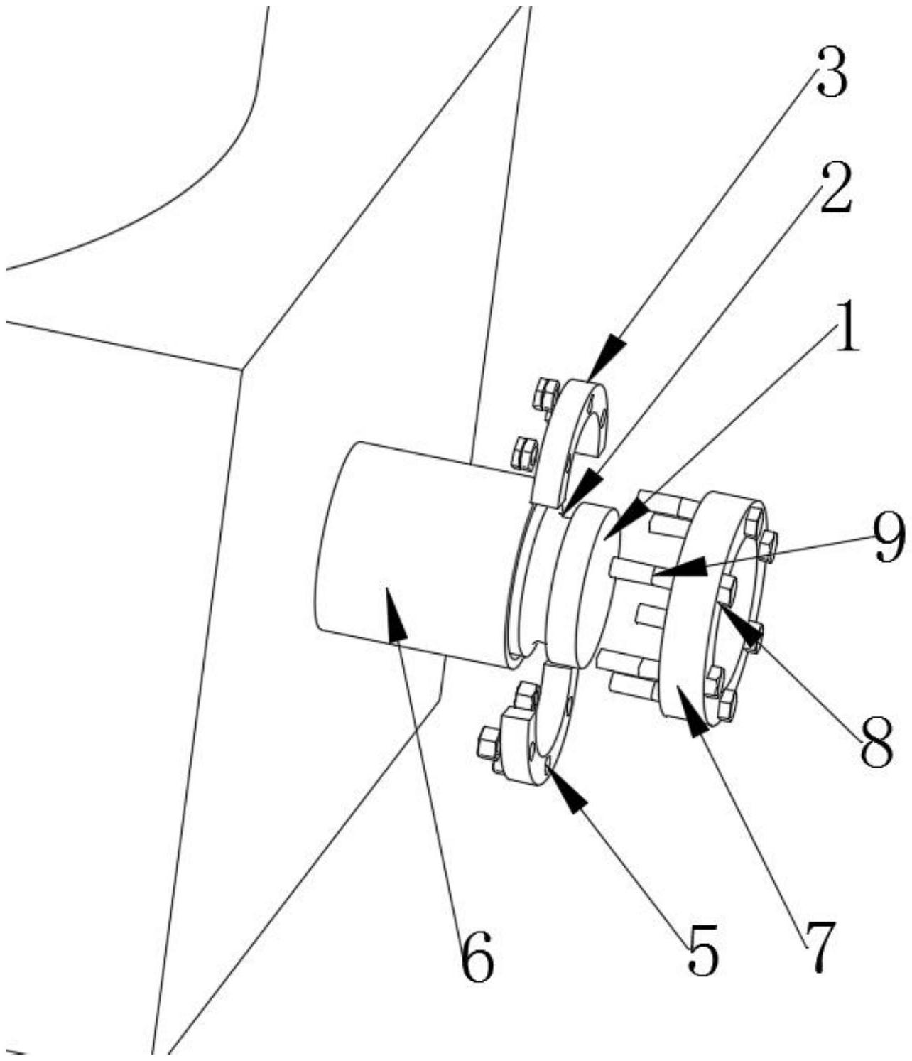
一种铁水包吊耳转轴耐磨装置,属于铸造设备技术领域,解决了铁水包翻转过程中易对吊耳转轴造成磨损的技术问题。解决方案为:一种铁水包吊耳转轴耐磨装置,其中:所述铁水包吊耳转轴靠近外侧圆周方向设有环形凹槽;所述环形凹槽处圆周方向装有环形连接块;所述环形凹槽内侧的铁水包吊耳转轴上套装有耐磨环,所述环形凹槽外侧的铁水包吊耳转轴上套装有固定套环;所述铁水包吊耳转轴耐磨装置包括若干连接螺栓组,若干所述连接螺栓组一侧穿过固定环螺栓孔和连接块螺栓孔将固定套环与环形连接块固定连接。本实用新型具有结构设计合理、操作简单、省时省力等优点。


