授权公布号:CN218429073U
一种球墨铸铁管水泥涂衬排出砂浆回收利用装置
有效
申请
2022-09-05
申请公布
1970-01-01
授权
2023-02-03
预估到期
2032-09-05
| 申请号 | CN202222353987.8 |
| 申请日 | 2022-09-05 |
| 授权公布号 | CN218429073U |
| 授权公告日 | 2023-02-03 |
| 分类号 | B28B19/00;B28B17/00 |
| 分类 | 加工水泥、黏土或石料; |
| 申请人名称 | 山西大通铸业有限公司 |
| 申请人地址 | 山西省晋城市泽州县川底乡和村村 |
专利法律状态
2023-02-03
授权
状态信息
授权
摘要
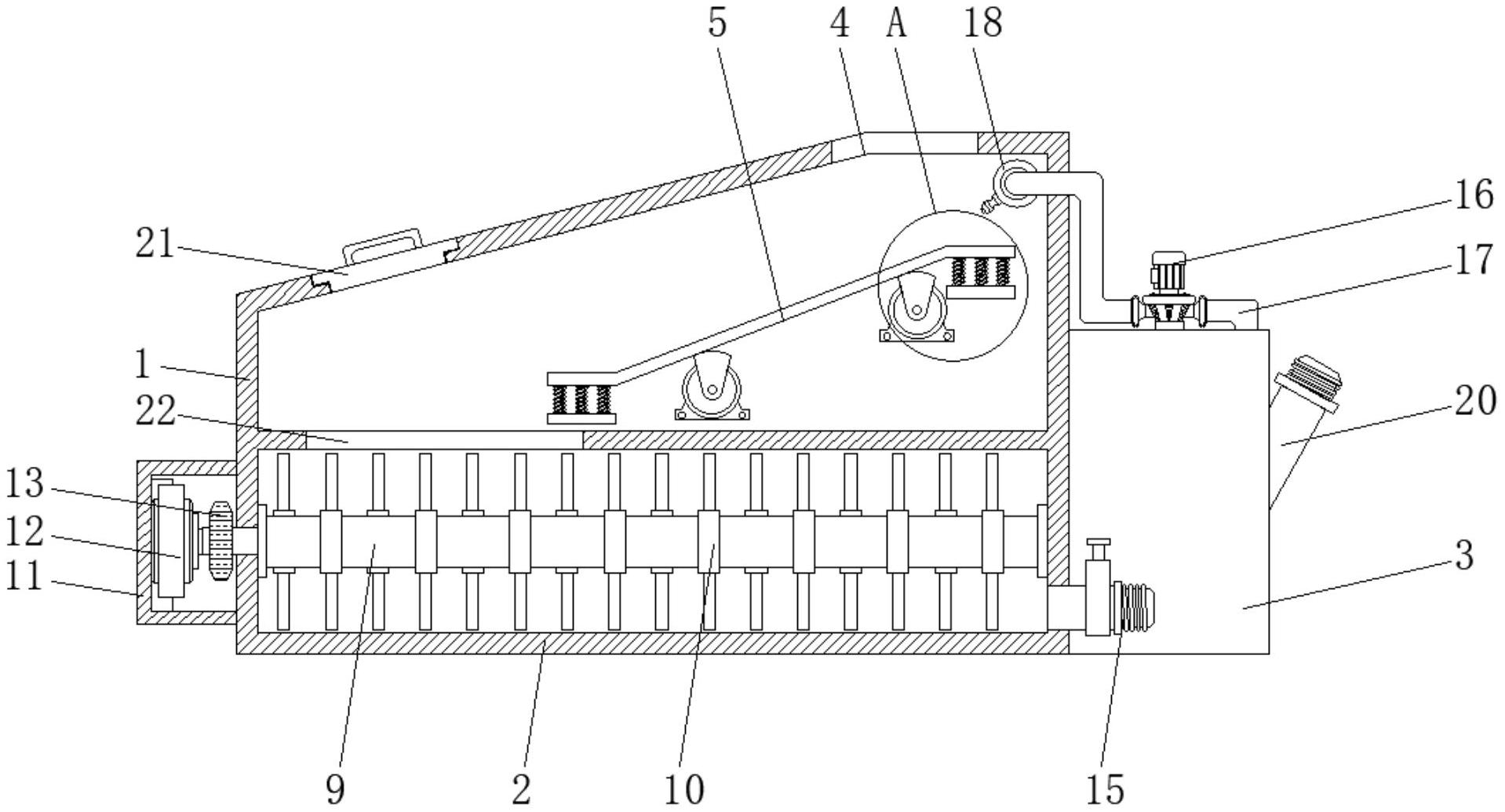
本实用新型提供了一种球墨铸铁管水泥涂衬排出砂浆回收利用装置,涉及球墨铸铁管技术领域,包括壳体、储料仓和水箱,所述壳体内部的下方设有储料仓,所述壳体的右侧设有水箱,所述壳体右侧的上方设有进料口,所述壳体内部的上方设有进料机构,所述储料仓左侧的上方设有开口槽;本实用新型通过待水泥进入壳体后,下落至进料机构中的振动板上,振动电机带动振动板进行振动,因振动板是从右至左向下倾斜,所以振动板自动带动水泥砂浆通过开口槽进入储料仓的内部,同时水泵通过水管将水箱中的抽向喷淋管中,喷淋管通过喷头向振动板的顶部缓慢喷水,水将振动板的表面湿润,使得水泥砂浆更容易通过振动板进入储料仓的内部。


