授权公布号:CN210229624U
堆肥发酵废气除臭装置
有效
申请
2019-06-04
申请公布
1970-01-01
授权
2020-04-03
预估到期
2029-06-04
| 申请号 | CN201920834327.7 |
| 申请日 | 2019-06-04 |
| 授权公布号 | CN210229624U |
| 授权公告日 | 2020-04-03 |
| 分类号 | B01D53/84 |
| 分类 | 一般的物理或化学的方法或装置; |
| 申请人名称 | 湖南金叶众望科技股份有限公司 |
| 申请人地址 | 湖南省岳阳市临湘市长安街道办事处集庄社区上伍组 |
专利法律状态
2020-04-03
授权
状态信息
授权
摘要
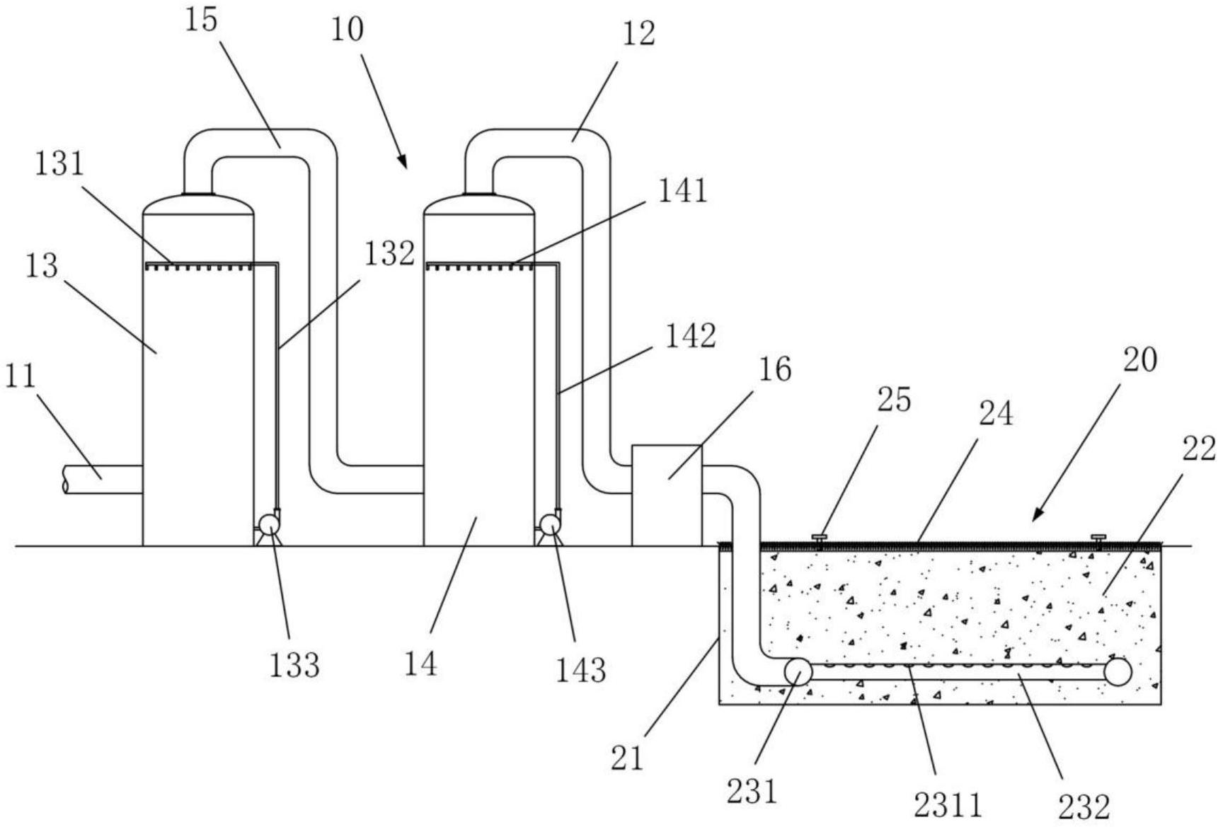
本实用新型公开了一种堆肥发酵废气除臭装置,包括:化学洗涤塔,其进气管与堆肥发酵车间的废气收集系统连通,化学洗涤塔用于除去堆肥发酵废气中的水溶性恶臭物质、酸性恶臭物质和碱性恶臭物质;生物土壤滤池,化学洗涤塔的排气管伸入生物土壤滤池内,生物土壤滤池用于对经过化学洗涤后的堆肥发酵废气进行生物除臭。废气经进气管进入化学洗涤塔进行化学洗涤,去除废气中大部分水溶性恶臭物质、酸性恶臭物质和碱性恶臭物质;经化学洗涤后的废气导入生物土壤滤池,利用土壤中的微生物除去废气中剩余的恶臭物质。该堆肥发酵废气除臭装置将化学洗涤除臭与生物除臭相结合,有效提高了对堆肥发酵废气的除臭效果。


