授权公布号:CN216209263U
一种单板测试工装夹具
有效
申请
2021-06-18
申请公布
1970-01-01
授权
2022-04-05
预估到期
2031-06-18
| 申请号 | CN202121359052.X |
| 申请日 | 2021-06-18 |
| 授权公布号 | CN216209263U |
| 授权公告日 | 2022-04-05 |
| 分类号 | G01R1/04;G01R31/28 |
| 分类 | 测量;测试; |
| 申请人名称 | 河南力安测控科技有限公司 |
| 申请人地址 | 河南省郑州市高新技术开发区翠竹街1号总部企业基地77号楼 |
专利法律状态
2022-04-05
授权
状态信息
授权
摘要
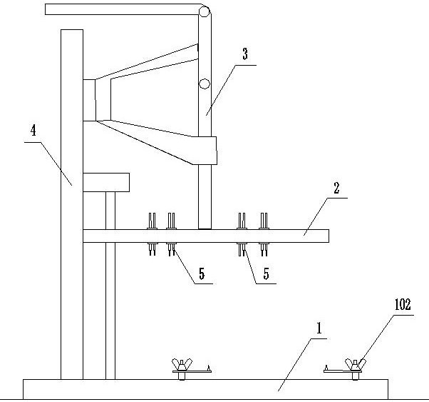
本实用新型本实用新型的目的是提供一种单板测试工装夹具,用于提高测试效率,本实用新型解决其技术问题的技术方案为:一种单板测试工装夹具,包括主板固定板、主板测试点接触板、升降机构、固定柱,固定柱的底部与主板固定板固定连接,主板测试点接触板穿过固定柱与固定柱滑动连接,升降机构用于带动主板测试点接触板沿固定柱滑动,主板测试点接触板上设置有接触探针,对同一型号的板材测量时,仅需通过升降机构升起主板测试点接触板后对待测PCBA板进行更换,对不同型号的板材测量时,仅需调整主板测试点接触板上探针的位置,节省了人力,提高了效率。


