授权公布号:CN210711334U
有机无机复混肥生产线
有效
申请
2019-09-19
申请公布
1970-01-01
授权
2020-06-09
预估到期
2029-09-19
| 申请号 | CN201921561599.0 |
| 申请日 | 2019-09-19 |
| 授权公布号 | CN210711334U |
| 授权公告日 | 2020-06-09 |
| 分类号 | C05G3/30;C05G5/30 |
| 分类 | 肥料;肥料制造〔4〕; |
| 申请人名称 | 湖南金叶众望科技股份有限公司 |
| 申请人地址 | 湖南省岳阳市临湘市长安街道办事处集庄社区上伍组 |
专利法律状态
2020-06-09
授权
状态信息
授权
摘要
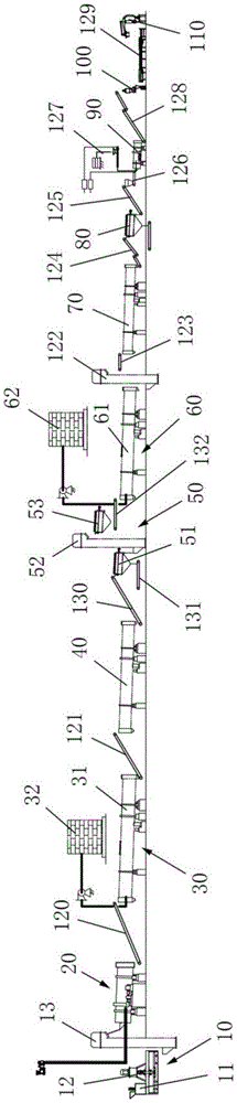
本实用新型公开了一种有机无机复混肥生产线,包括依次连接的给料装置、造粒装置、第一烘干装置、第一冷却机、多级筛分装置、第二烘干装置、第二冷却机、滚筒筛、包膜机、自动包装秤和码垛机;包膜机连接扑粉喂料机。该有机无机复混肥生产线通过设置第一烘干装置、第一冷却机、第二烘干装置、第二冷却机,对颗粒物料进行多次烘干和冷却,有效降低了颗粒物料中的含水量,并且通过扑粉喂料机向颗粒物料中加入防结块剂进行,利用包膜机进行包膜,有效解决了颗粒状复混肥产品结块的问题,通过设置多级筛分装置和滚筒筛,分多次对颗粒物料进行筛分,提高了颗粒状复混肥产品的粒度均一性,提高了产品质量。


