授权公布号:CN215891323U
一种具有泄压功能的无压电磁阀
有效
申请
2021-09-10
申请公布
1970-01-01
授权
2022-02-22
预估到期
2031-09-10
| 申请号 | CN202122185390.2 |
| 申请日 | 2021-09-10 |
| 授权公布号 | CN215891323U |
| 授权公告日 | 2022-02-22 |
| 分类号 | F16K31/06;F16K1/42;F16K1/00;F16K27/02;F16K15/06;F16K15/18 |
| 分类 | 工程元件或部件;为产生和保持机器或设备的有效运行的一般措施;一般绝热; |
| 申请人名称 | 上海纳诺巴伯纳米科技有限公司 |
| 申请人地址 | 上海市浦东新区中国(上海)自由贸易试验区蔡伦路780号801、802、823、824室 |
专利法律状态
2022-02-22
授权
状态信息
授权
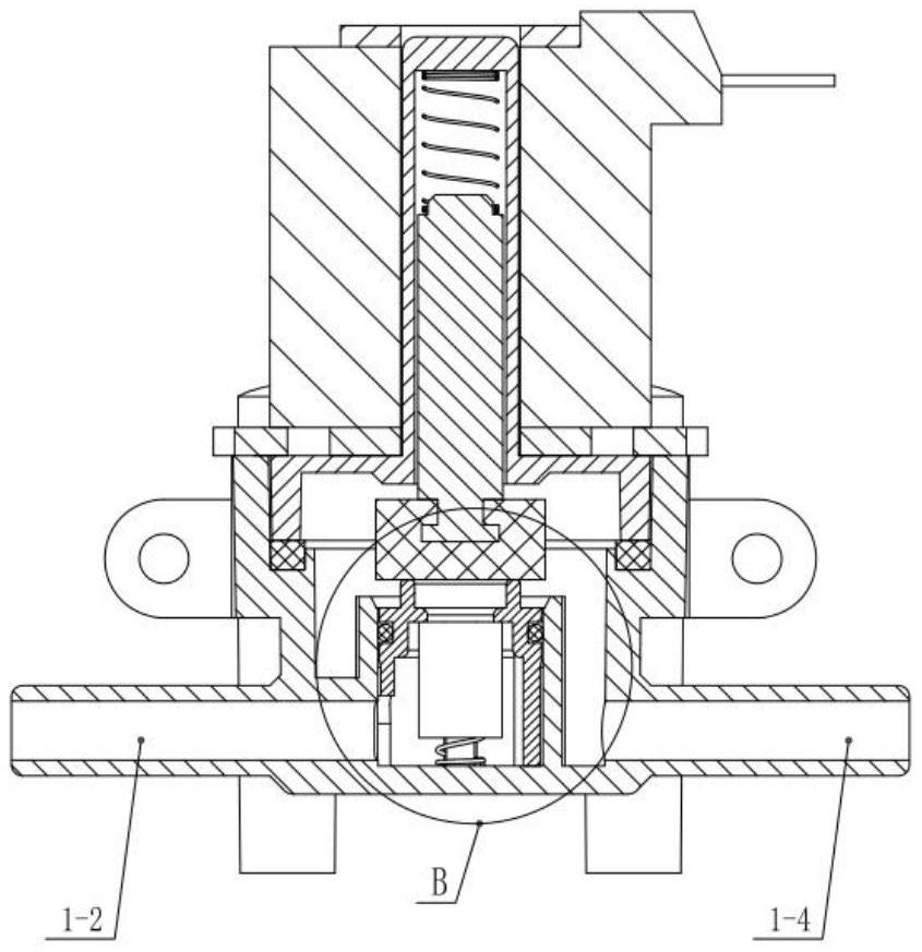
摘要
本申请为一种具有泄压功能的无压电磁阀,包括:电磁阀座,所述电磁阀座内部设有阀座内圈,阀座内圈上设有固定阀芯,电磁阀座左右两端分别设有进水口和出水口,所述固定阀芯与阀座内圈连通形成通道一,所述固定阀芯内还设有与通道一连通的通道二,所述阀座内圈与出水口连通,固定阀芯顶端通过铁芯和密封垫一实现通道一与进水口的通断;所述通道二顶端通过单向阀芯实现与进水口的通断,在流体管路压力变化情况下,压力过大时,通道一流体通道无法打开,通道二在压力作用下开启,通道二连通通道一,通道一通过阀座内圈与出水口连通,从而实现流体流通,避免管路爆裂或设备受损。


