授权公布号:CN215111247U
一种快速取气接头
有效
申请
2021-05-31
申请公布
1970-01-01
授权
2021-12-10
预估到期
2031-05-31
| 申请号 | CN202121189373.X |
| 申请日 | 2021-05-31 |
| 授权公布号 | CN215111247U |
| 授权公告日 | 2021-12-10 |
| 分类号 | F16L43/02 |
| 分类 | 工程元件或部件;为产生和保持机器或设备的有效运行的一般措施;一般绝热; |
| 申请人名称 | 上海纳诺巴伯纳米科技有限公司 |
| 申请人地址 | 上海市浦东新区中国(上海)自由贸易试验区蔡伦路780号801、802、823、824室 |
专利法律状态
2021-12-10
授权
状态信息
授权
摘要
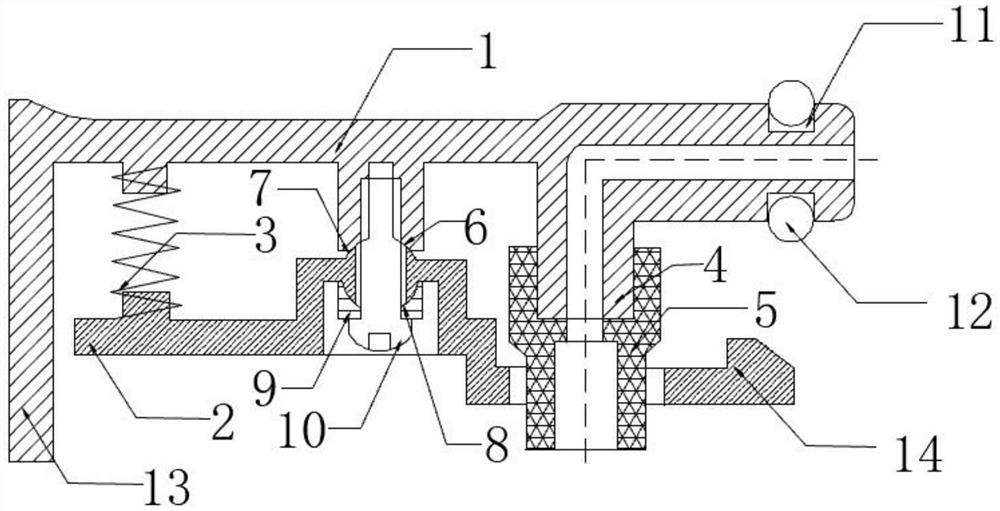
本申请为一种快速取气接头,其包括:夹头和夹头盖,所述夹头和夹头盖靠近尾端一侧通过弹性连接件固定连接,所述夹头靠近前端一侧设有接插柱,所述夹头的接插柱通过气动接头与夹头盖前端活动连接,所述夹头中部设有第一弧形缺口,所述夹头盖中部对应第一弧形缺口设有第一弧形凸起,第一弧形缺口和第一弧形凸起相匹配,使用时只需要同时按压夹头和夹头盖的尾端,将夹头前端插入对应气源的插口,然后松开夹头和夹头盖的尾端,夹头盖前端卡在对应气源的卡位上,实现夹头与气源的稳定连接,因此本快速取气接头操作简单、便于家居使用,没有专业技能的人也可以轻松使用本快速取气接头。


