授权公布号:CN215931625U
一种用于地坪漆研发的耐候性测试装置
有效
申请
2021-09-08
申请公布
1970-01-01
授权
2022-03-01
预估到期
2031-09-08
| 申请号 | CN202122155957.1 |
| 申请日 | 2021-09-08 |
| 授权公布号 | CN215931625U |
| 授权公告日 | 2022-03-01 |
| 分类号 | G01N17/00 |
| 分类 | 测量;测试; |
| 申请人名称 | 湖南森缘涂料有限责任公司 |
| 申请人地址 | 湖南省邵阳市新邵县酿溪镇畔田村15组(新邵县生猪定点屠宰场01栋0101001号) |
专利法律状态
2022-03-01
授权
状态信息
授权
摘要
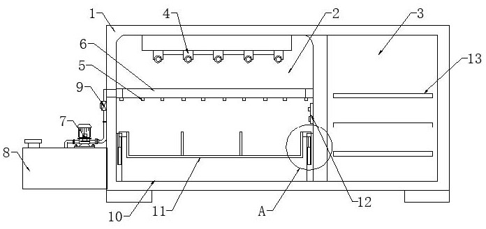
本实用新型公开了一种用于地坪漆研发的耐候性测试装置,包括耐候测试箱,耐候测试箱的内部开设有测试仓和对照仓,测试仓内壁的顶部固定安装有测试灯组,测试仓内壁的中部固定设置有喷淋环管,喷淋环管的底部固定安装有多个均匀分布的雾化喷头,测试仓内壁的底部固定设置有蓄流浸泡池,本实用新型一种用于地坪漆研发的耐候性测试装置,该测试装置设有测试仓和对照仓,能够在测试过程中将测试的产品与未测试的产品进行对比,便于测试人员得出相对准确的测试数据,能够模拟使用过程中地坪漆的耐高温、耐水和光照等各项性能,各项测试因素能够进行精准的调节,使得出了的测试结果更加科学准确,操作简单方便,稳定可靠。


