授权公布号:CN215923256U
一种具有抗污功能的水性涂料用存放装置
有效
申请
2021-08-25
申请公布
1970-01-01
授权
2022-03-01
预估到期
2031-08-25
| 申请号 | CN202122012746.2 |
| 申请日 | 2021-08-25 |
| 授权公布号 | CN215923256U |
| 授权公告日 | 2022-03-01 |
| 分类号 | B65D90/00;B65D88/74;B65D90/04;B01D19/02 |
| 分类 | 输送;包装;贮存;搬运薄的或细丝状材料; |
| 申请人名称 | 湖南森缘涂料有限责任公司 |
| 申请人地址 | 湖南省邵阳市新邵县酿溪镇畔田村15组(新邵县生猪定点屠宰场01栋0101001号) |
专利法律状态
2022-03-01
授权
状态信息
授权
摘要
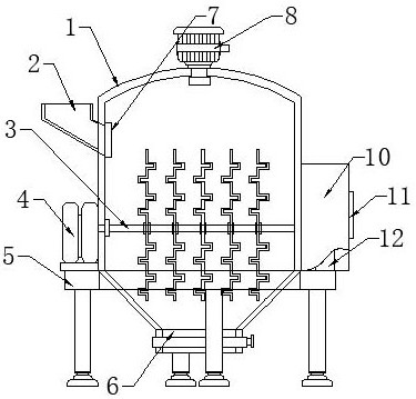
本实用新型公开了一种具有抗污功能的水性涂料用存放装置,包括存放架,存放架顶端的中部固定设置有不锈钢储存罐,不锈钢储存罐内壁的中部固定设置有振排机构,振排机构包括U形振排架、传动杆和气泡振排杆,U形振排架的表面固定设置有多个均匀分布的气泡振排杆,本实用新型一种具有抗污功能的水性涂料用存放装置,该存放装置内设有振排机构,能够在加入水性涂料后对内部涂料进行持续的振排工作,充分排除涂料中的气泡后再进行抽真空工作,有效避免了涂料中气泡过多造成涂料氧化的现象,增加了涂料的储存时间,在不锈钢储放罐内壁铺设有抗污硅油纸,能够减少涂料与存放罐之间的粘附能力,进而起到抗污和避免浪费的现象。


