授权公布号:CN218092795U
一种具有防烟功能的钢制防火门
有效
申请
2022-06-27
申请公布
1970-01-01
授权
2022-12-20
预估到期
2032-06-27
| 申请号 | CN202221634560.9 |
| 申请日 | 2022-06-27 |
| 授权公布号 | CN218092795U |
| 授权公告日 | 2022-12-20 |
| 分类号 | E06B5/16;E06B7/30 |
| 分类 | 一般门、窗、百叶窗或卷辊遮帘;梯子; |
| 申请人名称 | 湖南胜捷泰安消防科技有限公司 |
| 申请人地址 | 湖南省长沙市宁乡县煤炭坝镇富家村煤炭坝工业园 |
专利法律状态
2022-12-20
授权
状态信息
授权
摘要
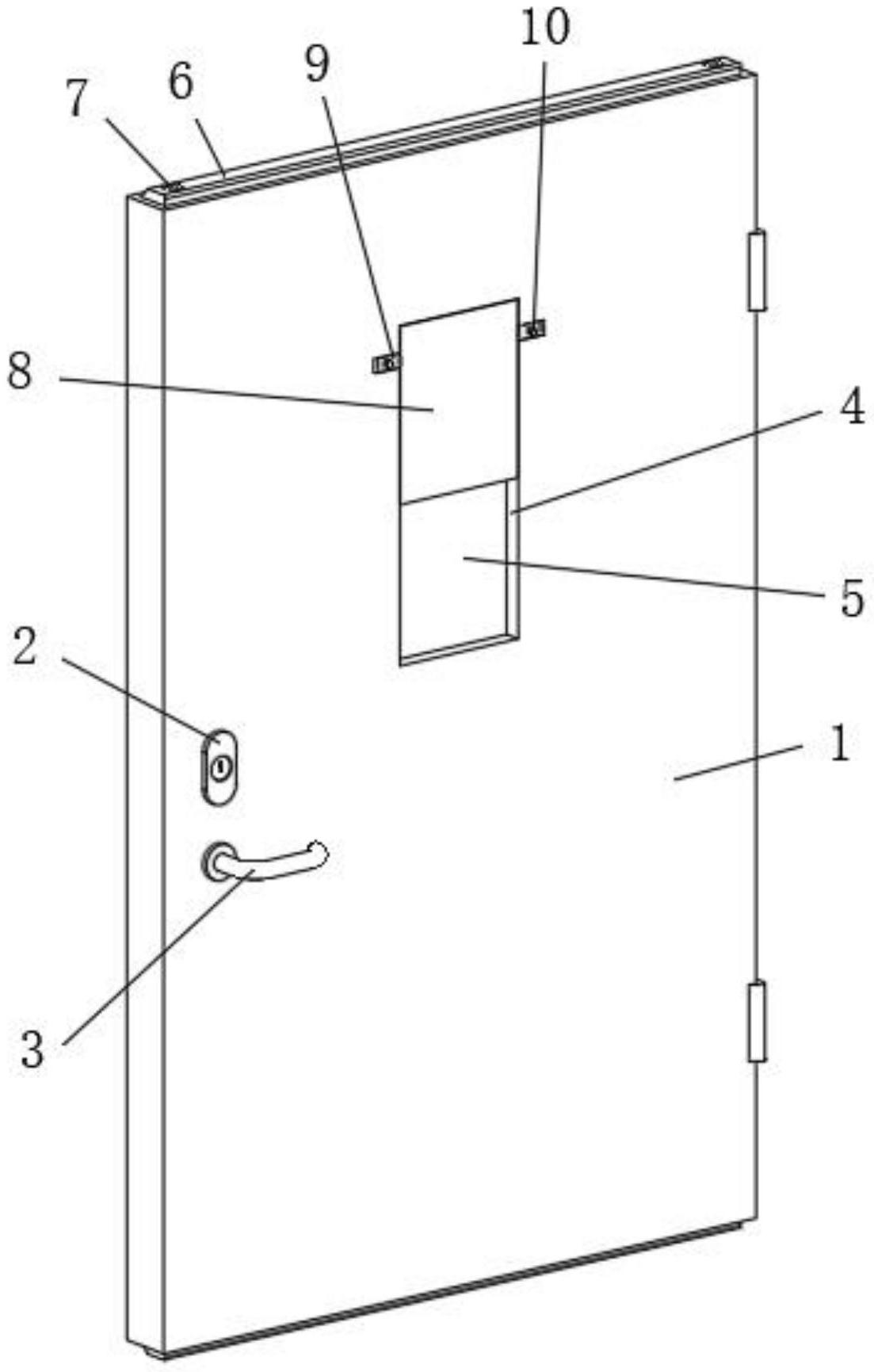
本实用新型公开了一种具有防烟功能的钢制防火门,包括门体,所述门体内侧端面一侧位置设置有把手,所述门体内侧端面在把手上方位置设置有锁孔区,所述门体内侧端面顶部位置设置有矩形槽,所述矩形槽底部位置设置有观察玻璃,所述矩形槽顶部设置有可调节的防烟挡板,所述门体上下端面均设置有可调节的防烟横条。本实用新型所述的一种具有防烟功能的钢制防火门,属于防火门领域,通过在门体上下端面均设置可调节的防烟横条,同时利用橡胶压块与定位杆进行固定,可有效增强防烟横条的稳定性,避免因温度升高而形变从而影响防烟效果,同时在观察玻璃上方设置可调节的防烟挡板,可在调节后对下方的观察玻璃进行封堵,避免玻璃破碎而使烟气漫出。


