授权公布号:CN213542429U
一种燃气蒸汽锅炉
有效
申请
2020-09-08
申请公布
1970-01-01
授权
2021-06-25
预估到期
2030-09-08
| 申请号 | CN202021937332.X |
| 申请日 | 2020-09-08 |
| 授权公布号 | CN213542429U |
| 授权公告日 | 2021-06-25 |
| 分类号 | F22B31/08 |
| 分类 | 蒸汽的发生; |
| 申请人名称 | 浙江双峰锅炉制造有限公司 |
| 申请人地址 | 浙江省金华市武义县熟溪街道振兴路150号 |
专利法律状态
2023-12-05
专利权质押合同登记的生效、变更及注销
状态信息
专利权质押合同登记的生效;IPC(主分类):F22B 31/08;专利号:ZL202021937332X;登记号:Y2023980065841;登记生效日:20231116;出质人:浙江双峰锅炉制造有限公司;质权人:浙江武义农村商业银行股份有限公司;实用新型名称:一种燃气蒸汽锅炉;申请日:20200908;授权公告日:20210625
2021-06-25
授权
状态信息
授权
摘要
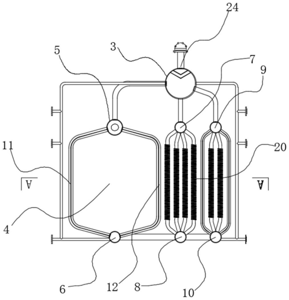
本实用新型属于锅炉设备技术领域,具体涉及一种燃气蒸汽锅炉,包括壳体与燃烧器,壳体内设有锅筒、水冷上集箱以及水冷下集箱;锅筒与水冷上集箱之间连接有蒸汽管,水冷上集箱与水冷下集箱之间连接有左膜式水冷壁与右膜式水冷壁;左膜式水冷壁与右膜式水冷壁之间的区域为炉膛,燃烧器的燃烧端位于炉膛进口。本实用新型蒸汽分离高度高,从锅筒流出的蒸汽带水量少,蒸汽品质好;相比同容量锅炉水容积小,产汽快;相比同容量锅炉炉膛容积大,有利于实现低氮燃烧;采用整体撬装式结构,运输、安装更方便。


