授权公布号:CN208269384U
一种回焰式水管式真空热水机组
有效
申请
2018-03-28
申请公布
1970-01-01
授权
2018-12-21
预估到期
2028-03-28
| 申请号 | CN201820489830.9 |
| 申请日 | 2018-03-28 |
| 授权公布号 | CN208269384U |
| 授权公告日 | 2018-12-21 |
| 分类号 | F24H1/00;F24H9/00;F24H9/18;F24H9/20 |
| 分类 | 供热;炉灶;通风; |
| 申请人名称 | 浙江双峰锅炉制造有限公司 |
| 申请人地址 | 浙江省武义县熟溪街道振兴路150号 |
专利法律状态
2023-12-05
专利权质押合同登记的生效、变更及注销
状态信息
专利权质押合同登记的生效;IPC(主分类):F24H1/00;专利号:ZL2018204898309;登记号:Y2023980065841;登记生效日:20231116;出质人:浙江双峰锅炉制造有限公司;质权人:浙江武义农村商业银行股份有限公司;实用新型名称:一种回焰式水管式真空热水机组;申请日:20180328;授权公告日:20181221
2018-12-21
授权
状态信息
授权
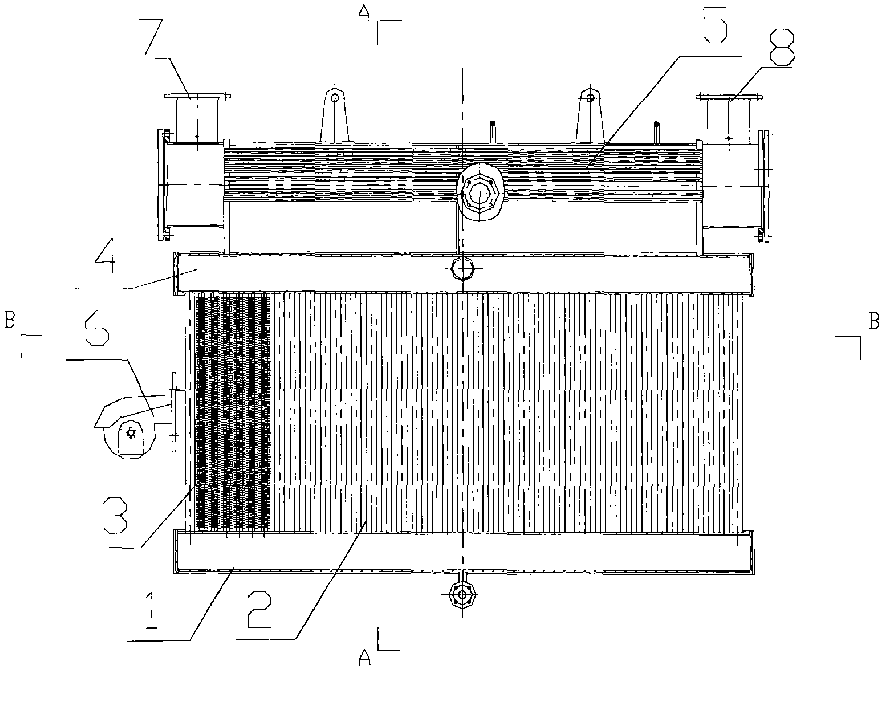
摘要
一种回焰式水管式真空热水机组,所述机组自上而下依次包括换热管组件、上矩形集箱、炉膛和下矩形集箱,所述炉膛的内壁一周有膜式水冷壁管,所述炉膛内设有两个区域,分别是燃烧区和汽化区,所述燃烧区位于所述汽化区的前方,所述燃烧区与汽化区之间通过一排的膜式水冷壁管隔开,所述汽化区内布置有成排的螺旋鳍片管;所述燃烧区的一端设有燃烧口,所述燃烧口处安装有燃烧器,所述汽化区的另一端设有出烟口;所述燃烧区在靠近燃烧口的一端与汽化区之间设有进烟口;所述膜式水冷壁管的上端、螺旋鳍片管的上端分别与所述上矩形集箱连通。本实用新型提供了一种回焰式水管式真空热水机组,有利于提高换热效率、并使结构更紧凑、降低金属耗量。


