授权公布号:CN213714039U
一种用于医废处理的干式急冷器
有效
申请
2020-09-03
申请公布
1970-01-01
授权
2021-07-16
预估到期
2030-09-03
| 申请号 | CN202021900469.8 |
| 申请日 | 2020-09-03 |
| 授权公布号 | CN213714039U |
| 授权公告日 | 2021-07-16 |
| 分类号 | F28D7/16;F28F9/00;F23J15/06;F23J3/00 |
| 分类 | 一般热交换; |
| 申请人名称 | 浙江双峰锅炉制造有限公司 |
| 申请人地址 | 浙江省金华市武义县熟溪街道振兴路150号 |
专利法律状态
2023-12-05
专利权质押合同登记的生效、变更及注销
状态信息
专利权质押合同登记的生效;IPC(主分类):F28D7/16;专利号:ZL2020219004698;登记号:Y2023980065841;登记生效日:20231116;出质人:浙江双峰锅炉制造有限公司;质权人:浙江武义农村商业银行股份有限公司;实用新型名称:一种用于医废处理的干式急冷器;申请日:20200903;授权公告日:20210716
2021-07-16
授权
状态信息
授权
摘要
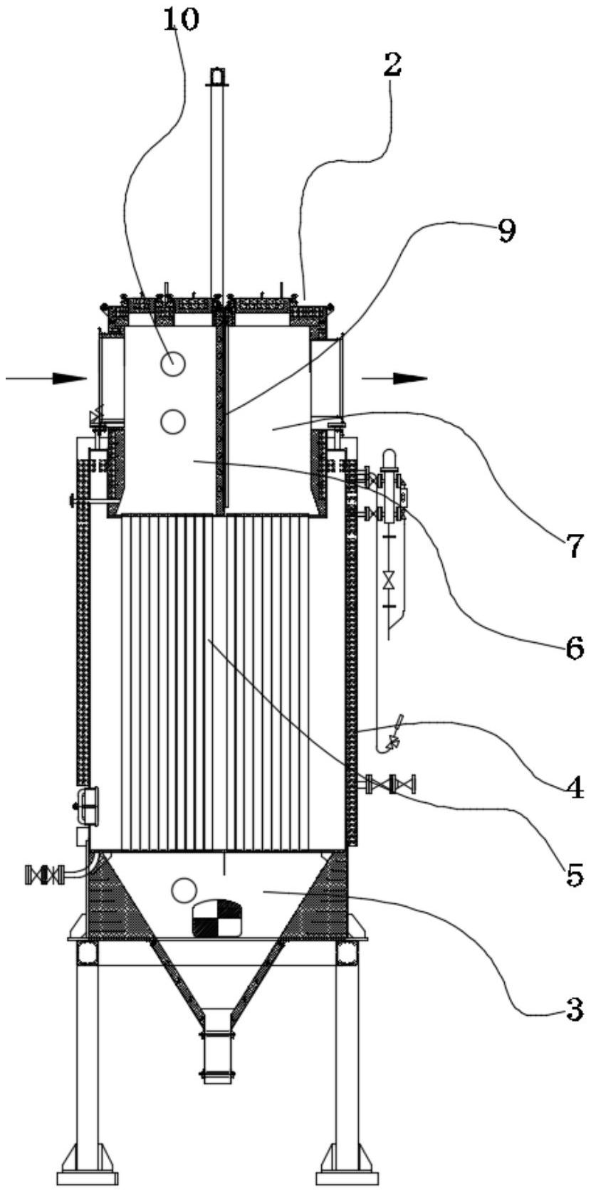
本实用新型属于医疗垃圾处理设备技术领域,具体涉及一种用于医废处理的干式急冷器,包括上烟箱、下烟箱以及壳体;壳体的两端分别与上烟箱、下烟箱连接;所述壳体内设有数个烟管,烟管内部流通烟气,烟管外部与壳体之间流通冷却介质;所述壳体底部设有冷却介质进口,顶部设有冷却介质出口;上烟箱设有进烟区和排烟区;进烟区通过一部分烟管与下烟箱连通,下烟箱通过另一部分烟管与排烟区连通;所述进烟区设有进烟口,所述排烟区设有排烟口。本实用新型的干式急冷器能够有效降低烟气中的有害物质。


