授权公布号:CN205480963U
一种水煤浆流化床锅炉热烟气发生器
有效
申请
2016-01-11
申请公布
1970-01-01
授权
2016-08-17
预估到期
2026-01-11
| 申请号 | CN201620039882.7 |
| 申请日 | 2016-01-11 |
| 授权公布号 | CN205480963U |
| 授权公告日 | 2016-08-17 |
| 分类号 | F23C10/18 |
| 分类 | 燃烧设备;燃烧方法; |
| 申请人名称 | 浙江双峰锅炉制造有限公司 |
| 申请人地址 | 浙江省武义县振兴路150号 |
专利法律状态
2023-12-05
专利权质押合同登记的生效、变更及注销
状态信息
专利权质押合同登记的生效;IPC(主分类):F23C 10/18;专利号:ZL2016200398827;登记号:Y2023980065841;登记生效日:20231116;出质人:浙江双峰锅炉制造有限公司;质权人:浙江武义农村商业银行股份有限公司;实用新型名称:一种水煤浆流化床锅炉热烟气发生器;申请日:20160111;授权公告日:20160817
2016-08-17
授权
状态信息
授权
摘要
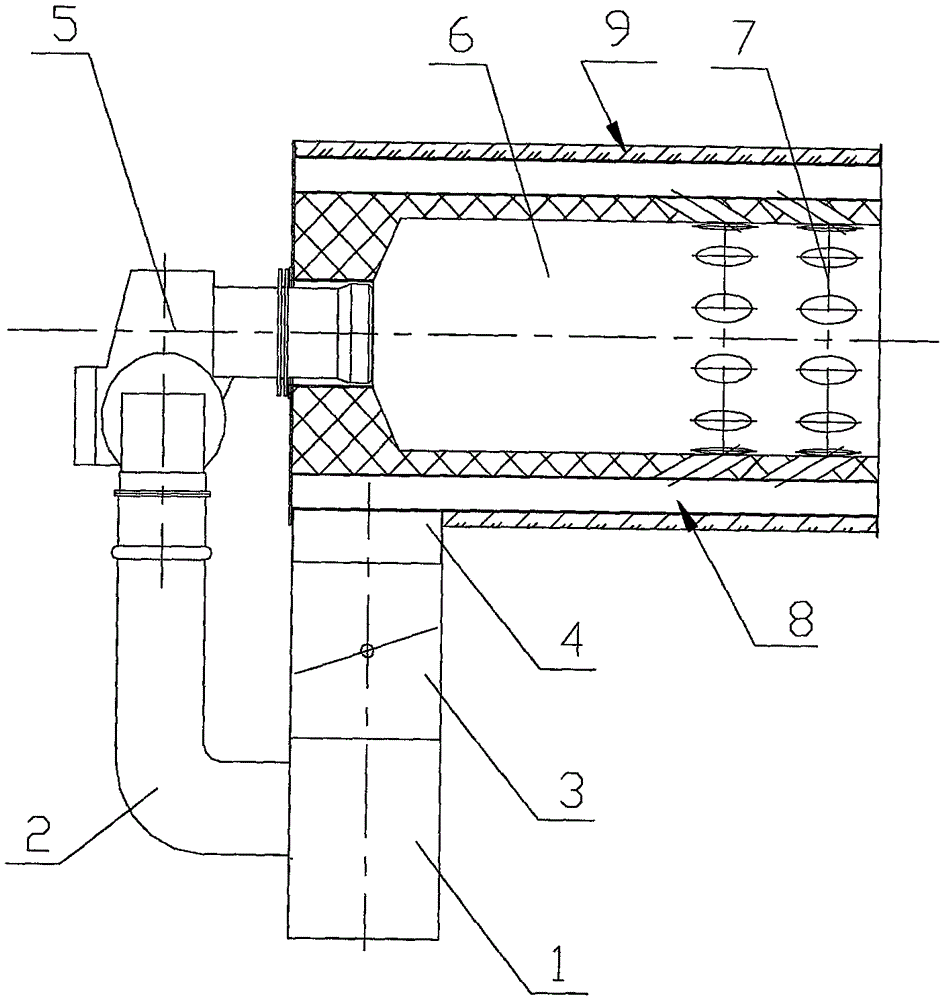
一种水煤浆流化床锅炉热烟气发生器,包括进风管、点火燃烧器和预燃筒,所述进风管分别与所述点火燃烧器和预燃筒连接,所述预燃筒包括用以形成热烟气的内筒和用以冷风经过的冷风腔室,所述内筒横向位于所述冷风腔室内,所述点火燃烧器位于所述预燃筒的左侧与所述内筒的烟气进口连通,所述冷风腔室外套装有用以保温的保温套;所述内筒的右端的筒壁上开有预燃筒配风嘴,所述冷风腔室通过所述预燃筒配风嘴与所述内筒连通,所述内筒的热烟气出口与风室的进风口连通,所述预燃筒配风嘴设置有两个以上,两个以上的预燃筒配风嘴均布在内筒的筒壁一周。本实用新型提供一种点火时间较短、节省点火用油的水煤浆流化床锅炉热烟气发生器。


