授权公布号:CN216877331U
感应式车辆消毒通道
有效
申请
2022-03-17
申请公布
1970-01-01
授权
2022-07-05
预估到期
2032-03-17
| 申请号 | CN202220589320.5 |
| 申请日 | 2022-03-17 |
| 授权公布号 | CN216877331U |
| 授权公告日 | 2022-07-05 |
| 分类号 | A61L2/26;A61L2/18;A61L2/24 |
| 分类 | 医学或兽医学;卫生学; |
| 申请人名称 | 山东锦旭能源科技股份有限公司 |
| 申请人地址 | 山东省潍坊市诸城市观海路6999号 |
专利法律状态
2022-07-05
授权
状态信息
授权
摘要
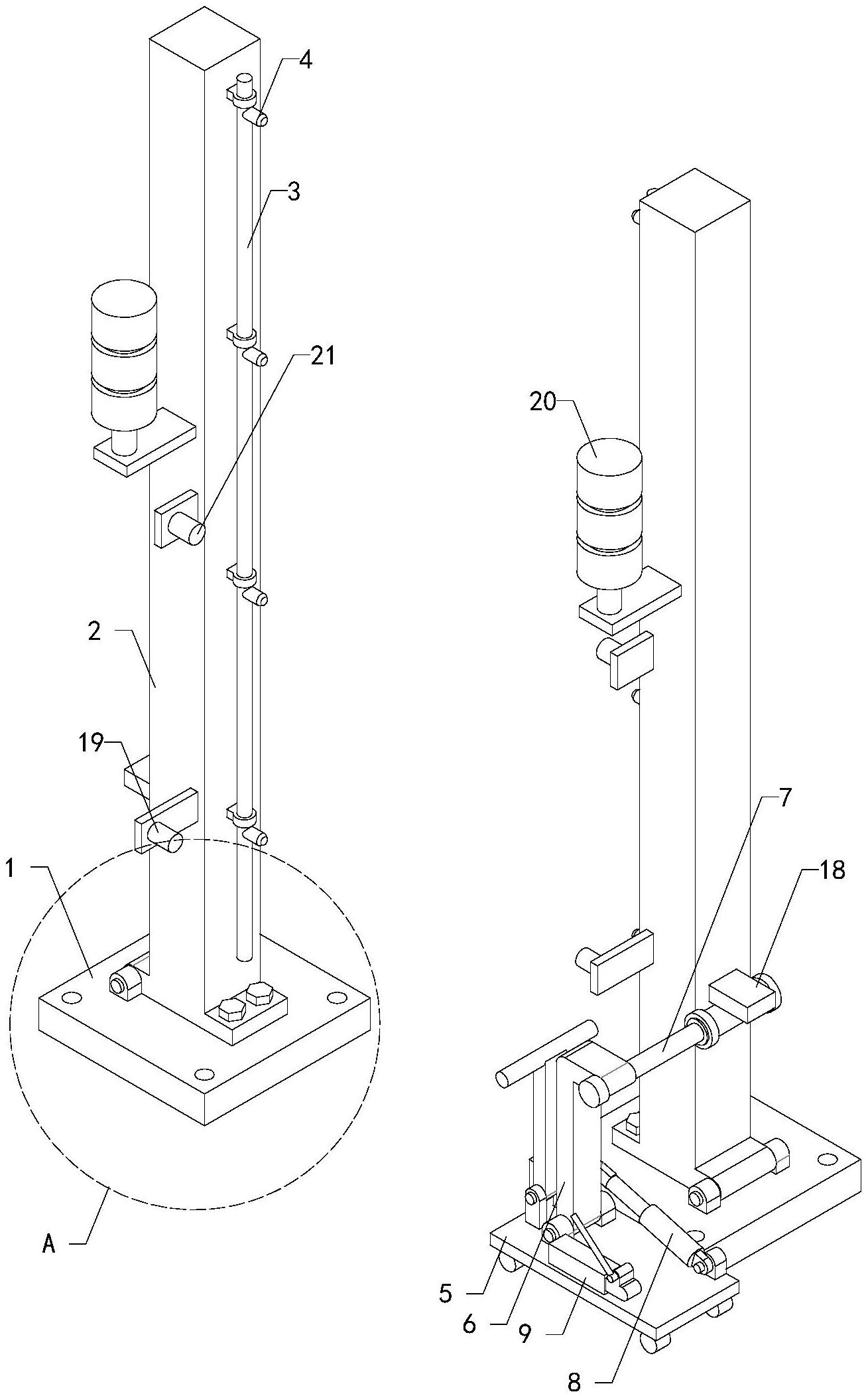
本实用新型涉及车辆消毒的技术领域,特别是涉及感应式车辆消毒通道,其无需吊车吊装,降低安装成本和时间,实用性高;包括多个立柱和立柱小车,多个立柱分两排对称布置构成消毒通道,立柱还包括底板、转动柱、高压水管和多个喷头,立柱小车还包括小车、摆臂、推杆、油缸和手压泵,转动柱的下端转动安装在底板上,高压水管安装在转动柱的内侧壁上,高压水管上安装有多个喷头,摆臂的下端转动安装在小车左部,摆臂的上端安装有推杆,推杆的后端伸出小车的外界,并且推杆的外端与转动柱的外侧壁接触,油缸的固定端转动安装在小车的上端面的右部,油缸的移动端与摆臂的中部转动连接,手压泵安装在小车的上端面上,手压泵与油缸通过高压油管连接。


