授权公布号:CN219062557U
一种蒸汽发生器用安全阀
有效
申请
2023-01-29
申请公布
1970-01-01
授权
2023-05-23
预估到期
2033-01-29
| 申请号 | CN202320083739.8 |
| 申请日 | 2023-01-29 |
| 授权公布号 | CN219062557U |
| 授权公告日 | 2023-05-23 |
| 分类号 | F16K17/06 |
| 分类 | 工程元件或部件;为产生和保持机器或设备的有效运行的一般措施;一般绝热; |
| 申请人名称 | 浙江地中海新能源设备有限公司 |
| 申请人地址 | 浙江省丽水市水阁工业区仙霞路112号、116号 |
专利法律状态
2023-05-23
授权
状态信息
授权
摘要
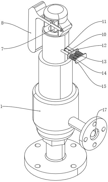
本实用新型涉及安全阀领域,尤其为一种蒸汽发生器用安全阀,包括安全阀壳,所述安全阀壳内部设置阀体,所述阀体的上端连接阀杆,所述阀杆的外侧套安全弹簧,所述阀杆的上端开槽连接导向杆,所述阀杆上端设置限位齿,所述导向杆的上端转动连接连接杆,所述连接杆上端转动连接安全阀门。该蒸汽发生器用安全阀,安全阀门的设置使用方便,向上扳动安全阀门,增加安全阀的压力,向下扳动安全阀门,减小预设压力,调整安全阀压力的同时,手捏住前护板和后护板,使限位弹簧压紧,限位齿和限位顶板脱离,调整安全阀压力完成后,手松开限位顶板就与限位齿接触,限位完成,结构简单,限位效果好,制造成本低,使用十分方便。


